Lexikon der Biochemie: Bence-Jones-Proteine
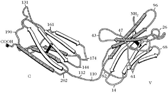
Bence-Jones-Proteine, Proteine, die im Urin von Patienten ausgeschieden werden, die an multiplen Myelomen leiden (bösartige Vermehrung antikörperproduzierender Zellen). Auf diese Proteine wurde man erstmals aufmerksam, als sie beim Erwärmen auf 50 °C ausfielen und sich beim weiteren Erwärmen auf 100 °C wieder lösten. Jedes B. besteht aus einem Dimer von Immunglobulin-L-Ketten (durch Disulfidbrücken zusammengehalten) und wird durch einen Klon identischer Zellen produziert (Abb.). Deshalb wird von jedem Patienten nur ein Polypeptid in einer Menge produziert, die für Sequenzbestimmungen ausreicht. Die B. waren für die Strukturbestimmung von Immunglobulinen sehr hilfreich. Jede leichte (L) Kette, Mr 22,5kDa, besteht aus 214 Aminosäuren. Es ist kein Methionin vorhanden und es gibt keine α-helicalen Bereiche.

Bence-Jones-Proteine. Bence-Jones-Protein vom L-Typ.
Wenn Sie inhaltliche Anmerkungen zu diesem Artikel haben, können Sie die Redaktion per E-Mail informieren. Wir lesen Ihre Zuschrift, bitten jedoch um Verständnis, dass wir nicht jede beantworten können.