Lexikon der Chemie: Rührreaktor
Rührreaktor, Rührkessel, idealer Rührkessel, ein mit einem Rührwerk ausgestatteter Behälter zur diskontinuierlichen oder halbkontinuierlichen bzw. kontinuierlichen Durchführung chem. Reaktionen. R. sind meist mit einer Heiz- oder Kühlschlange ausgerüstet. Bei stark exothermen Reaktionen wird der R. mit Außenkühlung betrieben (Abb. 1). R. werden bis zu einer Größe von 300 m3 gebaut.

Rührreaktor. Abb. 1: Mit Außenkühlung.
1) R. mit diskontinuierlicher Arbeitsweise (Bath-Reaktor). Der R. wird mit den Ausgangskomponenten gefüllt und auf die nötige Betriebstemperatur gebracht. Ist der gewünschte Umsatz erreicht, wird abgekühlt und entleert. Die diskontinuierliche Arbeitsweise hat den Nachteil, daß die zum Befüllen, aufheizen, Abkühlen und Entleeren notwendige Zeit für die Reaktionsdurchführung nicht zur Verfügung steht, außerdem ist der manuelle Bedienungsaufwand hoch. Die Verweilzeit t für eine Reaktion 1. Ordnung A → B + C ergibt sich aus der Gleichung r = dcA/dt = -k·cA. Durch Integration erhält man lg cA0/cA = 0,434 kt und t = (2,30/k) lg cA0/cA. Dabei ist r Reaktionsgeschwindigkeit, k Geschwindigkeitskonstante, cA0 Ausgangskonzentration von A, cA Endkonzentration von A.
Für einen 90%igen Umsatz an A (d. h. cA0 = 1 und cA = 0,1) gilt t = 2,30/k.
Bei stark exothermen Reaktionen ist eine diskontinuierliche Arbeitsweise nicht möglich, da die hohe Reaktionswärme nicht abgeführt werden kann.
2) R. mit halbkontinuierlicher Arbeitsweise (Semibatch-Reaktor). Eine der Ausgangskomponenten wird vorgelegt und der R. auf die nötige Temperatur aufgeheizt. Danach wird die zweite Komponente so zudosiert, daß die Reaktionstemperatur gehalten werden kann. Nach Zugabe der stöchiometrischen Menge der zweiten Komponente läßt man noch einige Zeit nachreagieren, kühlt ab und entleert den R. Die halbkontinuierliche Arbeitsweise wird bei stark exothermen Reaktionen angewandt.

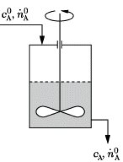
Rührreaktor. Abb. 2: Mit kontinuierlicher Arbeitsweise.
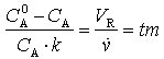
3) R. mit kontinuierlicher Arbeitsweise. Die Ausgangsmischung wird dem R. kontinuierlich zugeführt, gleichzeitig wird das Reaktionsprodukt kontinuierlich abgezogen (Abb. 2). In einem idealen R. sind alle Konzentrationen und damit auch die Reaktionsgeschwindigkeit zeitlich und räumlich konstant. Der manuelle Bedienungsaufwand ist geringer als bei der diskontinuierlichen oder halbkontinuierlichen Arbeitsweise, Verlustzeiten für das Befüllen und Entleeren entfallen. Für eine Reaktion 1. Ordnung A → B + C gilt r = dcA/dt = -k·cA = dnA/dt · VR und n· A0 – kcA·VR = n·A. Dabei ist VR Volumen der Reaktionsmasse, n· A0 molarer Mengenstrom von A am Reaktoreingang, n·A molarer Mengenstrom von A am Reaktorausgang, v· Einspritzmenge bzw. Produktabnahme je Zeit, tm mittlere Verweilzeit (tm = VR/ v·).
Da für Flüssigphasenreaktionen die Volumenströme des Einspritz- und Abstreiferproduktes gleich sind, gilt v· cA0 – k cAVR = v· cA ; n·A0 =v· cA0 ; n·A =v· cA ;

Für einen 90%igen Umsatz an A (CA0 = 1 und CA = 0,1) gilt jetzt tm = 9,00/k.
Ein Vergleich mit der unter diskontinuierlichen Bedingungen ermittelten Reaktionszeit zeigt, daß bei kontinuierlicher Arbeitsweise für das Erreichen des gleichen Umsetzungsgrades eine größere Verweilzeit im Reaktor notwendig ist als bei diskontinuierlicher Arbeitsweise.
Durch Verwendung einer Rührkesselkaskade kann die notwendige Verweilzeit für einen gewünschten Umsatz stark reduziert werden (Abb. 3).

Rührreaktor. Abb. 3: Schema einer einfachen Rührkesselkaskade.
Wenn Sie inhaltliche Anmerkungen zu diesem Artikel haben, können Sie die Redaktion per E-Mail informieren. Wir lesen Ihre Zuschrift, bitten jedoch um Verständnis, dass wir nicht jede beantworten können.