Direkt zum Inhalt

Lexikon der Geowissenschaften: Sklerometer

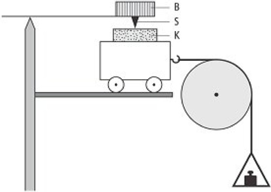
Sklerometer, Vorrichtung für genaue Messungen der Ritzhärte (Härte), insbesondere ihre Abhängigkeit von der Richtung auf Mineraloberflächen ( Abb.). Mit einem Sklerometer lassen sich Härteunterschiede erfassen, die in Form von Härtekurven die relativen Härtegrade darstellen.


Sklerometer: schematische Darstellung des Sklerometers (B=Gewicht, S=Ritzwerkzeug, K=Kristall). Sklerometer:
  • Die Autoren
Redaktion

Landscape GmbH
Dipl.-Geogr. Christiane Martin
Nicole Bischof
Dipl.-Geol. Manfred Eiblmaier

Fachberater

Allgemeine Geologie
Prof. Dr. V. Jacobshagen, Berlin

Angewandte Geologie
Prof. Dr. H. Hötzl, Karlsruhe

Bodenkunde
Prof. Dr. H.-R. Bork, Potsdam

Fernerkundung
Prof. Dr. phil. M. Buchroithner, Dresden

Geochemie
Prof. Dr. W. Altermann, München

Geodäsie
Prof. Dr. K.-H. Ilk, Bonn

Geomorphologie
Prof. Dr. W. Andres, Frankfurt / Main

Geophysik
Prof. Dr. P. Giese, Berlin

Historische Geologie
Prof. Dr. H.-G. Herbig, Köln

Hydrologie
Prof. Dr. H.-J. Liebscher, Koblenz

Kartographie
Prof. Dr. W.G. Koch, Dresden

Klimatologie
Prof. Dr. Ch.-D. Schönwiese, Frankfurt / Main

Kristallographie
Prof. Dr. K. Hümmer, Karlsruhe

Landschaftsökologie
Dr. D. Schaub, Aarau, Schweiz

Meteorologie
Prof. Dr. G. Groß, Hannover

Mineralogie
Prof. Dr. G. Strübel, Gießen

Ozeanographie
Prof. Dr. J. Meincke, Hamburg

Petrologie
Dr. R. Hollerbach, Köln

Autoren

Allgemeine Geologie
Dipl.-Geol. D. Adelmann, Berlin
Dr. Ch. Breitkreuz, Berlin
Prof. Dr. M. Durand Delga, Avon, Frankreich
Dipl.-Geol. K. Fiedler, Berlin
Prof. Dr. V. Jacobshagen, Berlin
Dr. W. Jaritz, Burgwedel
Prof. Dr. H. Kallenbach, Berlin
Dr. J. Kley, Karlsruhe
Prof. Dr. M. Lemoine, Marli-le-Roi, Frankreich
Prof. Dr. J. Liedholz, Berlin
Prof. Dr. B. Meißner, Berlin
Dr. D. Mertmann, Berlin
Dipl.-Geol. J. Müller, Berlin
Prof. Dr. C.-D. Reuther, Hamburg
Prof. Dr. K.-J. Reutter, Berlin
Dr. E. Scheuber, Berlin
Prof. Dr. E. Wallbrecher, Graz
Dr. Gernold Zulauf, Frankfurt

Angewandte Geologie
Dr. A. Bohleber, Karlsruhe
Dipl.-Geol. W. Breh, Karlsruhe
Prof. Dr. K. Czurda, Karlsruhe
Dr. M. Eiswirth, Karlsruhe
Dipl.-Geol. T. Fauser, Karlsruhe
Prof. Dr.-Ing. E. Fecker, Karlsruhe
Prof. Dr. H. Hötzl, Karlsruhe
Dipl.-Geol. W. Kassebeer, Karlsruhe
Dipl.-Geol. A. Kienzle, Karlsruhe
Dipl.-Geol. B. Krauthausen, Berg / Pfalz
Dipl.-Geol. T. Liesch, Karlsruhe
R. Ohlenbusch, Karlsruhe
Dr. K. E. Roehl, Karlsruhe
Dipl.-Geol. S. Rogge, Karlsruhe
Dr. J. Rohn, Karlsruhe
Dipl.-Geol. E. Ruckert, Karlsruhe
Dr. C. Schnatmeyer, Trier
Dipl.-Geol. N. Umlauf, Karlsruhe
Dr. A. Wefer-Roehl, Karlsruhe
K. Witthüser, Karlsruhe
Dipl.-Geol. R. Zorn, Karlsruhe

Bodenkunde
Dr. J. Augustin, Müncheberg
Dr. A. Behrendt, Müncheberg
Dipl.-Ing. agr. U. Behrendt, Müncheberg
Prof. Dr. Dr. H.-P. Blume, Kiel
Prof. Dr. H.-R. Bork, Potsdam
Dr. C. Dalchow, Müncheberg
Dr. D. Deumlich, Müncheberg
Dipl.-Geoök. M. Dotterweich, Potsdam
Dr. R. Ellerbrock, Müncheberg
Prof. Dr. M. Frielinghaus, Müncheberg
Dr. R. Funk, Müncheberg
Dipl.-Ing. K. Geldmacher, Potsdam
Dr. H. Gerke, Müncheberg
Dr. K. Helming, Müncheberg
Dr. W. Hierold, Müncheberg
Dr. A. Höhn, Müncheberg
Dr. M. Joschko, Müncheberg
Dr. K.-Ch. Kersebaum
Dr. S. Koszinski, Müncheberg
Dr. P. Lentzsch, Müncheberg
Dr. L. Müller, Müncheberg
Dr. M. Müller, Müncheberg
Dr. T. Müller, Müncheberg
Dr. B. Münzenberger, Müncheberg
Dr. H.-P. Pior, Müncheberg
Dr. H. Rogasik, Müncheberg
Dr. U. Schindler, Müncheberg
Dipl.-Geoök. G. Schmittchen, Potsdam
Dr. W. Seyfarth, Müncheberg
Dr. M. Tauschke, Müncheberg
Dr. A. Ulrich, Müncheberg
Dr. O. Wendroth, Müncheberg
Dr. St. Wirth, Müncheberg

Fernerkundung
Prof. Dr. phil. M. Buchroithner, Dresden
Prof. Dr. E. Csaplovics, Dresden
Prof. Dr. C. Gläßer, Halle
Dr. G. Meinel, Dresden
Dr. M. Netzband, Dresden
Prof. Dr. H. Will, Halle

Geochemie
Prof. Dr. A. Altenbach, München
Prof. Dr. W. Altermann, München
Dr. St. Becker, Wiesbaden
Dr. A. Hehn-Wohnlich, Ottobrunn
P.D. Dr. St. Höltzl, München
Dr. M. Kölbl-Ebert, München
Dr. Th. Kunzmann, München
Prof. Dr. W. Loske, München
Dipl.-Geol. A. Murr, München
Dr. T. Rüde, München

Geodäsie
Dr.-Ing. G. Boedecker, München
Dr. W. Bosch, München
Dr. E. Buschmann, Potsdam
Prof. Dr. H. Drewes, München
Dr. D. Egger, München
Prof. Dr. B. Heck, Karlsruhe
Prof. Dr. K.-H. Ilk, Bonn
Dr. J. Müller, München
Dr. A. Nothnagel, Bonn
Prof. Dr. D. Reinhard, Dresden
Dr. Mirko Scheinert, Dresden
Dr. W. Schlüter, Wetzell
Dr. H. Schuh, München
Prof. Dr. G. Seeber, Hannover
Prof. Dr. M. H. Soffel, Dresden

Geomorphologie
Dipl. Geogr. K.D. Albert, Frankfurt / Main
Prof. Dr. W. Andres, Frankfurt / Main
Dipl. Geogr. P. Houben, Frankfurt / Main
Dr. K.-M. Moldenhauer, Frankfurt / Main
Dr. P. Müller-Haude, Frankfurt / Main
Dipl. Geogr. S. Nolte, Frankfurt / Main
Dr. H. Riedel, Wetter
Dr. J. B. Ries, Frankfurt / Main

Geophysik
Dr. G. Bock, Potsdam
Dr. H. Brasse, Berlin
Prof. Dr. P. Giese, Berlin
Prof. Dr. V. Haak, Potsdam
Prof. Dr. E. Hurtig, Potsdam
Prof. Dr. R. Meißner, Kiel
Prof. Dr. K. Millahn, Leoben, Österreich
Dr. F. R. Schilling, Potsdam
Prof. Dr. H. C. Soffel, München
Dr. W. Webers, Potsdam
Prof. Dr. J. Wohlenberg, Aachen

Geowissenschaft
Prof. Dr. J. Negendank, Potsdam

Historische Geologie / Paläontologie
Prof. Dr. W. Altermann, München
Dr. R. Becker-Haumann, Köln
Dr. R. Below, Köln
Dr. M. Bernecker, Erlangen
Dr. M. Bertling, Münster
Prof. Dr. W. Boenigk, Köln
Dr. A. Clausing, Halle
Dr. M. Grigo, Köln
Dr. K. Grimm, Mainz
Prof. Dr. Gursky, Clausthal-Zellerfeld
Dipl.-Geol. E. Haaß, Köln
Prof. Dr. H.-G. Herbig, Köln
Dr. I. Hinz-Schallreuther, Berlin
Dr. D. Kalthoff, Bonn
Prof. Dr. W. von Königswald, Bonn
Dr. habil R. Kohring, Berlin
E. Minwegen, Köln
Dr. F. Neuweiler, Göttingen
Dr. S. Noé, Köln
Dr. S Nöth, Köln
Prof. Dr. K. Oekentorp, Münster
Dr. S. Pohler, Köln
Dr. B. Reicherbacher, Karlsruhe
Dr. H. Tragelehn, Köln
Dr. S. Voigt, Köln
Dr. H. Wopfner, Köln

Hydrologie
Dr. H. Bergmann, Koblenz
Prof. Dr. K. Hofius, Boppard
Prof. Dr. H.-J. Liebscher, Koblenz
Dr. E. Wildenhahn, Vallendar
Dr. M. Wunderlich, Brey

Kartographie
Prof. Dr. J. Bollmann, Trier
Dipl. Geogr. T. Bräuninger, Trier
Prof. Dr. phil. M. Buchroithner, Dresden
Dr. G. Buziek, Hannover
Prof. Dr. W. Denk, Karlsruhe
Dr. D. Dransch, Berlin
Dipl. Geogr. H. Faby, Trier
Dr. K. Großer, Leipzig
Dipl. Geogr. F. Heidmann, Trier
Prof. Dr. K.-H. Klein, Wuppertal
Prof. Dr. W. Koch, Dresden
Prof. Dr. S. Meier, Dresden
Dipl. Geogr. A. Müller, Trier
Prof. Dr. J. Neumann, Karlsruhe
Prof. Dr. K. Regensburger, Dresden
Dipl.-Ing. Ch. Rülke, Dresden
Dr. W. Stams, Dresden
Prof. Dr. K.-G. Steinert, Dresden
Dr. P. Tainz, Trier
Dr. A.-D. Uthe, Berlin
Dipl. Geogr. W. Weber, Trier
Prof. Dr. I. Wilfert, Dresden
Dipl.-Ing. D. Wolff, Wuppertal

Kristallographie
Dr. K. Eichhorn, Karlsruhe
Prof. Dr. K. Hümmer, Karlsruhe
Prof. Dr. W. E. Klee, Karlsruhe
Dr. G. Müller-Vogt, Karlsruhe
Dr. E. Weckert, Karlsruhe
Prof. Dr. H.W. Zimmermann, Erlangen

Lagerstättenkunde
Dr. W. Hirdes, D-53113 Bonn
Prof. Dr. H. Flick, Marktoberdorf
Dr. T. Kirnbauer, Wiesbaden
Prof. Dr. W. Proschaska, Leoben, Österreich
Prof. Dr. E. F. Stumpfl, Leoben, Österreich
Prof. Dr. Thalhammer, Leoben, Österreich

Landschaftsökologie
Dipl. Geogr. St. Meier-Zielinski, Basel, Schweiz
Dipl. Geogr. S. Rolli, Basel, Schweiz
Dr. D. Rüetschi, Basel, Schweiz
Dr. D. Schaub, Frick, Schweiz
Dipl. Geogr. M. Schmid, Basel, Schweiz

Meteorologie und Klimatologie
Dipl. Met. K. Balzer, Potsdam
Dipl.-Met. W. Benesch, Offenbach
Prof. Dr. D. Etling, Hannover
Dr. U. Finke, Hannover
Prof. Dr. H. Fischer, Karlsruhe
Prof. Dr. M. Geb, Berlin
Prof. Dr. G. Groß, Hannover
Prof. Dr. Th. Hauf, Hannover
Dr. habil. D. Heimann,
Oberpfaffenhofen / Weßling
Dr. C. Lüdecke, München
Dipl. Met. H. Neumeister, Potsdam
Prof. Dr. H. Quenzel, München
Prof. Dr. U. Schmidt, Frankfurt / Main
Prof. Dr. Ch.-D. Schönwiese, Frankfurt / Main
Prof. Dr. W. Wehry, Berlin

Mineralogie
Prof. Dr. G. Strübel, Gießen

Ozeanographie
Prof. Dr. W. Alpers, Hamburg
Dr. H. Eicken, Fairbanks, Alaska, USA
Dr. H.-H. Essen, Hamburg
Dr. E. Fahrbach, Bremerhaven
Dr. K. Kremling, Kiel
Prof. Dr. J. Meincke, Hamburg
Dr. Th. Pohlmann, Hamburg
Prof. Dr. W. Zahel, Hamburg

Petrologie
Dr. T. Gayk, Köln
Dr. R. Hollerbach, Köln
Dr. R. Kleinschrodt, Köln
Dr. R. Klemd, Bremen
Dr. M. Schliestedt, Hannover
Prof. Dr. H.-G. Stosch, Karlsruhe

Schreiben Sie uns!

Wenn Sie inhaltliche Anmerkungen zu diesem Artikel haben, können Sie die Redaktion per E-Mail informieren. Wir lesen Ihre Zuschrift, bitten jedoch um Verständnis, dass wir nicht jede beantworten können.

Partnerinhalte

Bitte erlauben Sie Javascript, um die volle Funktionalität von Spektrum.de zu erhalten.