Lexikon der Optik: Bildaufnahmeröhre
Bildaufnahmeröhre, ein Vakuumphotoempfänger auf der Grundlage des äußeren oder inneren Photoeffektes, der in einer Fernsehkamera betrieben wird und zur Aufnahme eines optischen Bildes und dessen Zerlegung in eine Folge elektrischer Signale (Videosignale) dient. Das Superorthikon (engl. image orthicon), eine B. mit äußerem Photoeffekt, wurde über Jahrzehnte im Fernsehbetrieb verwendet, ist inzwischen aber völlig durch Festkörper-Bildsensoren (Photodiodenarray) abgelöst. Das gleiche gilt für die verschiedenen B. mit innerem Photoeffekt wie Vidikon, Plumbikon und Chalnikon, die heute nur noch in speziellen Anwendungen Einsatz finden. Auf dem pyroelektrischen Verhalten seines Sensors beruht die Fähigkeit des pyroelektrischen Vidikons, im nahen und mittleren Infrarot "Wärmebilder" aufzunehmen.
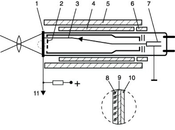
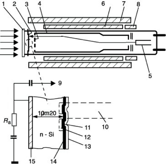
Aufbau und Wirkungsweise. B. vom Vidikontyp besitzen in einem evakuierten Glasrohr ein Photohalbleitertarget, das die Funktionen der lichtelektrischen Signalwandlung und der Ladungsspeicherung in sich vereinigt, sowie ein Elektronenabtaststrahlsystem (Abb. 1). Das Target ist bei Vidikon und Chalnikon eine Photowiderstandsschicht aus Sb2S3, PbS/PbO oder CdSe, beim Plumbikon eine pin-Photodiodenschicht aus PbO, die jeweils über eine SnO2-Schicht auf die Fensterinnenseite gedampft ist. Das SnO2 fungiert als optisch transparente, metallisch leitende Signalplatte, die positiv vorgespannt wird. Im Ersatzschaltbild besteht jeder Bildpunkt (engl. pixel) aus einem belichtungsabhängigen Widerstand und einem parallelgeschalteten Speicherkondensator, der einseitig auf Signalplattenpotential liegt und durch den Elektronenstrahl auf Katodenpotential aufgeladen wird. Er entlädt sich bei Belichtung, so daß auf dem Target ein der Helligkeitsverteilung des optischen Bildes entsprechendes Potentialrelief (Ladungsspeicherbild) entsteht. Der beim Wiederaufladen im Bildpunktkondensator fließende Verschiebungsstrom wird als Videosignal dem Vorverstärker zugeführt. Fokussierung und rasterförmige Abtastbewegung des Elektronenstrahles erfolgen elektrostatisch oder elektromagnetisch durch äußere Spulen. Beim Silicium-Multidiodentarget-Vidikon ist das Target eine dünne, dicht hinter der Frontscheibe separat montierte Si-Scheibe, auf der in Planartechnik etwa 106 Si-Photodioden integriert sind (Abb. 2). In Sperrichtung vorgespannt, reagiert jede Diode auf die Belichtung durch Erhöhung ihres Sperrstromes, der den Bildpunktkondensator entlädt. In einer Restlicht-Kameraröhre (SIT-Vidikon, SIT Abk. für engl. silicon intensifying target) arbeitet das gleiche Target nicht als photoelektrischer Wandler, sondern – von den beschleunigten Photoelektronen aus einer vorgeschalteten Photokatode bombardiert – als Verstärkerelement, in welchem durch Stoßionisation eine Ladungsträgervervielfachung erfolgt. Signalgewinnung und -auswertung geschehen wie beim Vidikon, jedoch ist die notwendige Beleuchtungsstärke um 4 bis 5 Größenordnungen geringer (Bildverstärker). Ein anderes Verstärkungsprinzip, jedoch ohne Ladungsspeicherung, ist in der Bilddissektorröhre verwirklicht.
Eigenschaften und Anwendungen (vgl. Tab.). Während die klassische Fernsehkamera mit B. heute gänzlich von der Matrix-Kamera mit Photodiodenarray abgelöst ist, werden B. vom Vidikon-Typ noch zur Fertigungskontrolle, für Beobachtungen im UV und IR sowie zur Röntgenbildaufnahme eingesetzt. Ein Problem beim IR-Vidikon ist die Trägheit seiner Sensorschicht, die auch nach mehrmaliger Abtastung noch ein Signal aufbaut und damit unerwünschte Nachzieheffekte bei der Aufnahme bewegter Bilder verursacht. Multidioden-Vidikons haben die Nutzung des Fernsehens als Meßtechnik wesentlich gefördert, sind in der optischen Vielkanalanalyse inzwischen aber ebenfalls durch Photodiodenarrays ersetzt. Nur das SIT-Vidikon wird (neben der Kombination Bildverstärker/Matrixkamera) nach wie vor für hochempfindliche Bildaufnahmen verwendet.

Bildaufnahmeröhre 1: Röhre vom Vidikontyp. 1 Photohalbleitertarget, 2 Feldnetz, 3 Abtaststrahl, 4 Ablenkspule, 5 Fokussierspule, 6 Justierspule, 7 Strahlerzeugersystem, 8 Planscheibe, 9 transparente leitende Signalelektrode, 10 Photoleiterschicht, 11 Videosignalausgang.

Bildaufnahmeröhre 2: Vidikon mit Si-Multidiodentarget. 1 Eintrittsfenster, 2 Si-Multidiodentarget, 3 Feldnetz, 4 Anode, 5 Strahlerzeugersystem, 6 Ablenkspule, 7 Fokussierspule, 8 Justierspule, 9 Videosignalausgang, 10 Abtaststrahl, 11 p+-Diode, 12 Verarmungsschicht, 13 Widerstandsschicht, 14 Oxidschicht, 15 n+-Schicht, Ra Arbeitswiderstand.

Wenn Sie inhaltliche Anmerkungen zu diesem Artikel haben, können Sie die Redaktion per E-Mail informieren. Wir lesen Ihre Zuschrift, bitten jedoch um Verständnis, dass wir nicht jede beantworten können.