Lexikon der Optik: Bilddissektorröhre
Bilddissektorröhre (engl. image dissector tube), ein Vakuumphotoempfänger auf der Grundlage des äußeren Photoeffektes, im weiteren Sinne eine Bildaufnahmeröhre. Die B. besitzt eine Photokatode, eine ebene Gegenelektrode mit Aperturblende und einen dahinter angebrachten Sekundärelektronenvervielfacher (Abb.). Die bei Belichtung der Photokatode emittierten Photoelektronen ergeben, elektrostatisch oder elektromagnetisch auf die Gegenelektrode fokussiert, ein der Helligkeitsverteilung des optischen Bildes entsprechendes Elektronenbild, das durch Ablenkelektroden oder -spulen über die Aperturblende geschwenkt und so Bildpunkt für Bildpunkt im SEV um einen Faktor 106 verstärkt wird. Die Bildablenkung kann der Rasterbewegung des Fernsehens entsprechen oder auch willkürliche Bildpunktpositionen erfassen. Da die B. keinerlei Speicherelement besitzt, treten Trägheitseffekte nicht auf, und das einzelne Bildpunktsignal kann auch mit Methoden der Photonenzählung verarbeitet werden, allerdings ist der Einsatz auf optische Gleichlicht- oder Quasi-Gleichlichtstrahlung beschränkt. (Bildaufnahmeröhre, Tabelle.)

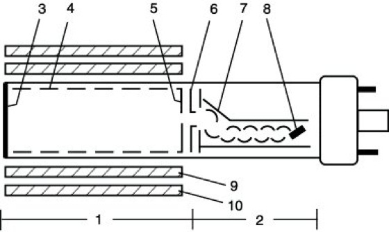
Bilddissektorröhre: Bilddissektorröhre, magnetisch abgelenkt und fokussiert. 1 Bildwandlerteil, 2 Verstärkerteil, 3 Photokatode, 4 Beschleunigungselektroden, 5 Aperturblende, 6 Austastelektrode, 7 Sekundärelektronenvervielfacher, 8 Anode, 9 Ablenkspule, 10 Fokussierspule.
Wenn Sie inhaltliche Anmerkungen zu diesem Artikel haben, können Sie die Redaktion per E-Mail informieren. Wir lesen Ihre Zuschrift, bitten jedoch um Verständnis, dass wir nicht jede beantworten können.