Lexikon der Optik: Infrarot-Fourier-Spektrometer
Infrarot-Fourier-Spektrometer, Gerät, das infrarotes Licht in einem Michelson-Interferometer durch Veränderung des optischen Gangunterschiedes x amplitudenmoduliert, die entsprechende Intensitätsmodulation als Interferogramm registriert und daraus mittels der Fourier-Transformation das gesuchte Spektrum berechnet. I. überspannen vom nahen Infrarot (IR) über das mittlere IR, dem sog. Fingerprintbereich, bis zum fernen IR den weiten Spektralbereich von 1 μm bis 1000 μm.
Im I. ist jeder Lichtwellenzahl σ (reziproke Wellenlänge) bei gleichförmiger Veränderung des optischen Gangunterschiedes x mit der Geschwindigkeit dx/dt die Modulationsfrequenz f=σ dx/dt zugeordnet. Monochromatisches Licht, z.B. eines Lasers, liefert unter idealen Bedingungen ein Interferogramm der Gestalt I(x)=I0(1+cos(2πσx)), wobei I die Intensität des Lichtes bezeichnet. Das Interferogramm breitbandiger Strahlung ist die Summe der Interferogramme aller in der Strahlung enthaltenen monochromatischen Anteile. Aufgenommen wird das Interferogramm als Funktion des optischen Gangunterschiedes. Aus ihm erhält man durch Fourier-Transformation das Frequenzspektrum S(σ) der Strahlung: ![]()
(Abb. 1).
Man kann so entweder die spektralen Eigenschaften einer Lichtquelle oder – durch Messung der durch eine Probe hindurchgegangenen bzw. von ihr reflektierten Strahlung – die spektrale Transmission bzw. Reflexion einer Probe ermitteln.
Bei realen Fourier-Spektrometern wird die Genauigkeit des Fourier-Integrals durch technisch bedingte Grenzen eingeschränkt, die ihrerseits die erreichbare Auflösung Δσ bestimmen. Realisierte optische Gangunterschiede von ±1 mm bis ±1 m entsprechen einer Auflösung von 500 m-1 bis 0,5 m-1. Zur Bestimmung des Spektrums wird das Interferogramm punktweise gemessen und numerisch unter Einsatz der schnellen Fourier-Transformation berechnet.
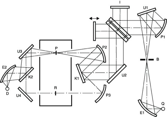
Im Gegensatz zu den klassischen Spektrometern benötigen Fourier-Spektrometer keine dispersiven Elemente wie Prismen und Gitter. Die äußere Optik eines I. besteht ausschließlich aus Spiegeln (Abb. 2). Der elliptische Spiegel E1 bildet die Quelle Q in eine im Durchmesser veränderliche Blende B ab. Die Divergenz der Strahlung kann so im Hinblick auf die angestrebte Auflösung passend gewählt werden. Nach Umlenken durch den Planspiegel U1 kollimiert ein Parabolspiegel P1 die Infrarotstrahlung aus der Blendenposition in das vom Interferometer I benötigte Parallelbündel. Die aus dem Interferometer austretende modulierte Strahlung wird mit den Parabolspiegeln P2, P3 in die Probenpositionen P bzw. R zwischenfokussiert und mit dem elliptischen Spiegel E2 auf die Detektorfläche D abgebildet. Die Planspiegel U3 und U4 sowie die schaltbaren Planspiegel K1 und K2 realisieren zwei Strahlengänge. Anstelle absoluter Intensitätsmessungen werden meist Vergleichsmessungen zwischen der Probe P und einer Referenzprobe R (z.B. ein gefüllter und ein leerer Probenbehälter) durchgeführt. Die spektrale Absorption der Probe ist dann der Quotient beider Spektren und so unabhängig von der spektralen Empfindlichkeit des Spektrometers.
Die wesentlichen Baugruppen eines I. sind die Quelle, das Interferometer mit dem Strahlteiler und der Detektor. Entsprechend dem zu untersuchenden Wellenzahlbereich werden angepaßte Baugruppen eingesetzt, als Quellen Halogenlampen, SiC-Glüher und Hg-Hochdrucklampen. Strahlteiler sind Si- oder Fe2O3-Schichten auf Quarz- oder CaF-Trägern, Ge-Schichten auf KBr-Trägern und freitragende gespannte Polyesterfolien unterschiedlicher Dicke. Geeignete Detektoren sind Photoleiter wie SbAs, PbSe und HgCdTe, pyroelektrische Empfänger und Bolometer. Zur Erzielung hoher photometrischer Genauigkeit wird von den Detektoren hohe Linearität über einen großen Intensitätsbereich verlangt. Die Abweichung der optisch wirksamen Flächen im Interferometer, d.h. Strahlteiler, sowie fester und beweglicher Spiegel von einer (idealen) Ebene sollte kleiner als 1/10 der kürzesten untersuchten Wellenlänge sein. Die Geradführung des beweglichen Spiegels darf höchstens Verkippungen bis zu 0,5 Bogensekunden zulassen. Meist wird der Spiegel von einem Luftlager geführt und von einem Tauchspulensystem mit konstanter Geschwindigkeit angetrieben. Die äußeren optischen Bauelemente sind in ihren Toleranzen unkritisch.
Wesentliche Vorteile des I. im Vergleich mit Abtastspektrometern sind: 1) Der Multiplex- oder Fellgett-Vorteil: Im Infrarot-Bereich ist der Detektor die dominierende und signalunabhängige Rauschquelle. Die gleichzeitige Erfassung aller Wellenzahlen vergrößert das Signal-Rausch-Verhältnis bzw. erlaubt verringerte Meßzeiten. Im VIS ist die Situation wegen des Photonenrauschens der Detektoren anders. 2) Der Jaquinot-Vorteil: Die hohe zulässige Divergenz der Strahlung im Interferometer und deren kreisförmiger Bündelquerschnitt ermöglichen einen größeren Lichtleitwert als ein Abtastspektrometer, was das Signal-Rausch-Verhältnis weiter erhöht. 3) Der Connes-Vorteil: Das Interferogramm wird an äquidistanten Stellen des optischen Gangunterschiedes abgetastet. Die Wellenzahlkalibrierung des I. ist an die Genauigkeit der Lage der Abtastpunkte gebunden. Deren Abstände werden von einem Referenzinterferometer bestimmt, das mit Laserlicht betrieben wird. So sind relative Meßabweichungen der Wellenzahl unter 10-6 erreichbar.
I. werden in der chemischen Analysenmeßtechnik und der physikalischen Optik alternativ zu den klassischen Abtastspektrometern eingesetzt. Ihre höhere Empfindlichkeit gestattet jedoch neuartige Messungen in der Astronomie und bei der Bestimmung von Stoffeigenschaften problematischer Proben hoher Absorption bzw. geringer Reflexion. Viele Meßprobleme erfordern zudem komplizierte Probenaufbauten wie im Falle der diffusiven Reflexion, der ATR-Ellipsometrie, der Infrarot-Fourier-Mikroskopie, der Photolumineszenz und der Ellipsometrie. Der dabei auftretende große Intensitätsverlust kann nur durch hohe Empfindlichkeit der I.-F.-S. ausgeglichen werden. Ihre hohe spektrale Auflösung erleichtert die Identifikation gas- und dampfförmiger organischer Substanzen bei geringer Konzentration. Damit sind in Umweltschutz und Klimaforschung Messungen aus größerer Entfernung möglich. Die kurzen Meßzeiten unter 0,1 s ermöglichen auch die Spektroskopie dynamischer Prozesse oder – in Verbindung mit Trennverfahren wie Gas- und Flüssigkeitschromatographie – die Analyse von eluierten Substanzgemischen. Die Spektroskopie sehr schneller aber wiederholbarer Prozesse wird durch den "stepped scan"-Betrieb möglich (ähnlich wie beim Sampling-Oszillographen). Zur Spektroskopie besonders stark absorbierender Proben werden photoakustische Detektoren verwendet.
Die in I. integrierten Rechner dienen neben der Gerätesteuerung und der schnellen Fourier-Transformation auch der rechnergestützten Spektrenauswertung. Dazu gehören die Differenzspektroskopie, die Trennung überlagerter Banden, die Entfaltung der Spektren zur Verschärfung der Banden z.B. biologischer Proben, die automatische Auswertung der Spektren bezüglich der Lage und Extinktion der Banden, chemometrische Auswertmethoden zur qualitativen und quantitativen Analytik im nahen IR sowie die Handhabung von Spektrenbibliotheken zur Recherche.


Wenn Sie inhaltliche Anmerkungen zu diesem Artikel haben, können Sie die Redaktion per E-Mail informieren. Wir lesen Ihre Zuschrift, bitten jedoch um Verständnis, dass wir nicht jede beantworten können.