Lexikon der Optik: laserchemische Abscheidung aus der Dampfphase
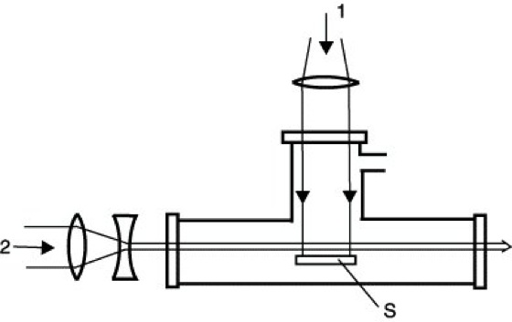
laserchemische Abscheidung aus der Dampfphase, Laser-CVD, L-CVD (Abk. für engl. laser-chemical vapor deposition), Verfahren zur Schichtabscheidung mit Lasern. Erfolgt eine durch Laserstrahlung induzierte photochemische Reaktion in Dämpfen in der Nähe einer Festkörperoberfläche (Substrat), so können sich die Folgeprodukte der Reaktion auf dieser Oberfläche als feste Schicht abscheiden. Man unterscheidet laserpyrolytische und laserphotolytische Reaktionen. Die Laserstrahlung wird entweder direkt (z.B. senkrecht) auf das Substrat gerichtet oder in einem geringen Abstand parallel zum Substrat geführt (Abb.). In jedem Falle werden die Moleküle vorzugsweise in räumlichen Bereichen nahe der Substratoberfläche durch die Laserstrahlung aktiviert. Auf diese Weise kann ein relativ großer Bruchteil der Reaktionsprodukte (z.B. Dissoziationsprodukte) durch Diffusion zur Oberfläche gelangen. Die Verluste durch unerwünschte Folgereaktionen, z.B. Radikaleneinfang bei Stößen mit nichtangeregten Ausgangsmolekülen, bleiben relativ gering. Vorteile der l. A. im Vergleich zu konventionellen CVD-Verfahren sind die relativ hohen Abscheideraten, insbesondere bei pyrolytischen Reaktionen, sowie definierte und steuerbare Schichteigenschaften.
Erfolgt die Schichtabscheidung als laserinduzierte Nichtgleichgewichtsreaktion, können auch metastabile Feststoffphasen erhalten werden. Die thermische Belastung des Substrates kann bei laserphotolytischen Reaktionen völlig vermieden werden.

laserchemische Abscheidung aus der Dampfphase: Laserchemische Schichtabscheidung. 1 Laserstrahlung senkrecht zum Substrat S, 2 parallel.
Wenn Sie inhaltliche Anmerkungen zu diesem Artikel haben, können Sie die Redaktion per E-Mail informieren. Wir lesen Ihre Zuschrift, bitten jedoch um Verständnis, dass wir nicht jede beantworten können.