Lexikon der Optik: Mikrohärteprüfer
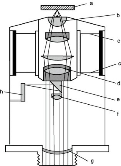
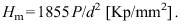
Mikrohärteprüfer, eine Zusatzeinrichtung für das Auflichtmikroskop, die es ermöglicht, an mikroskopischen Anschliffobjekten wie Metallen und Erzen eine Härteprüfung durchzuführen. Die Prüfung geschieht in der Weise, daß man mit einem Probekörper einen Eindruck im Objekt erzeugt. Der Eindruckskörper nach Vickers, der aus Diamant hergestellt ist, ist bei dem M. nach Hanemann (Abb.) in die Frontlinse des gleichzeitig zur Beobachtung dienenden Objektivs eingesetzt. Das zu prüfende Objekt wird mit Hilfe des Mikroskoptisches gegen das federnd aufgehängte Objektiv geführt. Die zur Erzeugung des Eindruckes aufgewendete Last wird an einer im mikroskopischen Sehfeld zu beobachtenden Lastanzeigeskala ermittelt. Nach Ausmessen der Diagonale des Eindruckes mit Hilfe eines Okularmikrometers wird die Mikrohärte nach folgender Formel berechnet:![]()
Hierin bedeuten P die Last in Pond und d die Länge der Diagonale in μm.

Mikrohärteprüfer: Schnitt durch einen Mikrohärteprüfer nach Hanemann. a Objekt, b Frontlinse des Objektivs mit eingekittetem Prüfdiamanten, c Scheibenringfedern zur Aufhängung des Objektivs, d Hinterglied des Objektivs, an das der Spiegel e und das Hilfsobjektiv f angekittet sind, g Korrektionslinse, h Lastanzeigeskala.
Wenn Sie inhaltliche Anmerkungen zu diesem Artikel haben, können Sie die Redaktion per E-Mail informieren. Wir lesen Ihre Zuschrift, bitten jedoch um Verständnis, dass wir nicht jede beantworten können.