Lexikon der Optik: Mikroskopkondensor
Mikroskopkondensor, bei der Mikroskopbeleuchtung dasjenige optische System, das in der Nähe des mikroskopischen Präparates angeordnet ist und zur Erzeugung eines beleuchteten Objektfeldes mit einer der numerischen Apertur der Objektive angepaßten Beleuchtungsapertur dient. Bei der Köhlerschen Beleuchtungsanordnung bildet der M. außerdem die Leuchtfeldblende in das Präparat ab.
In der Durchlichtmikroskopie sind die M. besondere Baueinheiten, die an das Mikroskop ansetzbar und austauschbar sind. Man unterscheidet Hellfeld-, Dunkelfeld- und Spezialkondensoren für besondere Anwendungen. In der Auflichtmikroskopie wirkt im Falle des Auflicht-Hellfeldes das Objektiv als sein eigener Kondensor, im Falle des Auflicht-Dunkelfeldes ist das Objektiv von einem Dunkelfeldkondensor ringförmig umgeben.
1) Hellfeldkondensoren. Die Regelung der Beleuchtungsapertur erfolgt durch eine Irisblende, die in der unteren Brennebene des Kondensors oder in deren Nähe angeordnet ist. Es ist nicht möglich, mit dem gleichen M. (Abb. 1a) die in ihrer Größe erheblich voneinander abweichenden Objektfelder der schwachen Objektive (mit kleiner Apertur) und der starken Objektive (mit großer Apertur) auszuleuchten. Man benutzt daher entweder zwei oder mehrere Kondensoren verschiedener Brennweite und Apertur (Abbn. 1c, d) oder bildet den M. so aus, daß durch Ausschalten von Linsen aus dem Strahlengang im Frontbereich (beim Satzkondensor durch Abschrauben, beim Klappkondensor durch Ausklappen) bzw. durch Zuschalten einer Großfeldlinse unterhalb des Kondensors (Abb. 1b) größere Objektfelder ausgeleuchtet werden und die Beleuchtungsapertur sich verringert. In den letzten Fällen wird dabei meist vom Köhlerschen Beleuchtungsprinzip abgewichen. Mittels eines optischen Systems veränderlicher Brennweite, das unterhalb eines feststehenden M. angeordnet ist (pankratischer Kondensor), ist eine kontinuierliche Änderung des ausgeleuchteten Objektfeldes und der Beleuchtungsapertur möglich.
Der optische Aufbau (zweilinsig, mehrlinsig, ohne bzw. mit Asphäre) und der erforderliche Korrektionszustand der M. (Öffnungsfehler minimiert, aplanatisch, achromatisch-aplanatisch) richten sich nach den Anforderungen der durchzuführenden Mikroskopierverfahren. Die bei Hellfeldkondensoren angegebene Zahl bedeutet die höchste erreichbare Beleuchtungsapertur; über Eins liegende Werte werden durch Verwendung von Immersionsflüssigkeiten (Immersion) erreicht. Es gilt unter anderem die Faustregel, daß die Beleuchtungsapertur etwa zwei Drittel der numerischen Apertur des Objektivs betragen soll. In den meisten Fällen ist demnach ein Trockenkondensor mit der Apertur 0,9 auch für Immersionsobjektive ausreichend. Bei den schwächsten Objektiven ist es oft günstiger, die Beleuchtungsapertur um ein Vielfaches größer als die Objektivapertur zu wählen.
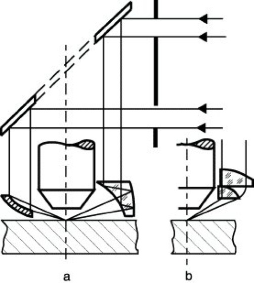
2) Dunkelfeldkondensoren. Sie haben eine Zentralabschattung von erheblicher Größe. Ihre innere Apertur muß größer als die Objektivapertur sein, damit kein direktes Licht in das Objektiv gelangt. M. zur Dunkelfeldbeleuchtung bei Verwendung schwacher bis mittelstarker Objektive werden unter anderem als Linsenkondensoren ausgeführt, die eine Zentralblende enthalten. Im Falle starker Objektive werden Spiegel- bzw. Spiegellinsenkondensoren benutzt, die im Prinzip Zweispiegelsysteme mit einem konvexen und einem konkaven Spiegel sind (Abb. 2). Der als Kardioidkondensor bezeichnete Immersions-Dunkelfeldkondensor hat eine innere numerische Apertur von etwa 1,05. Die in Verbindung mit ihm benutzten Immersionsobjektive müssen mit einer Irisblende ausgestattet sein, um die Objektivapertur drosseln zu können.
In der Auflichtmikroskopie sind die Dunkelfeldkondensoren konzentrisch zum Objektiv angeordnet (Abb. 3). Sie bestehen aus ringförmigen spiegelnden oder brechenden Bauelementen oder auch aus einem Spiegellinsen-Element, wobei die Ringkondensoren mit spiegelnder Wirkung vorrangig für Objektive mittlerer und höherer Apertur und solche mit brechender Wirkung vorrangig für schwächere Objektive mit größerem Arbeitsabstand verwendet werden. Der Ringkondensor bildet mit dem abbildenden Objektiv im allgemeinen eine feste Einheit (Hell-Dunkel(HD)-Objektiv).
3) Spezialkondensoren. Sie werden für spezielle Anwendungen in der Mikroskopie genutzt.
a) Der Phasenkontrastkondensor, auch ungenau Phasenkondensor genannt, ist ein Durchlicht-Hellfeldkondensor, in dessen Brennebene (oder in deren Nähe) sich auswechselbare, im allgemeinen ringförmige Blenden (Ringblenden) befinden. Diese sind in ihrer Größe jeweils auf ein Objektiv so abgestimmt, daß sie über den M. und dieses Objektiv auf den in der hinteren Brennebene des letzteren befindlichen Phasenring abgebildet werden (Phasenkontrastverfahren). Die Blenden befinden sich meist auf einem Blendenrevolver.
b) M. mit langer Schnittweite werden LD-Kondensoren genannt (LD Abk. für engl. long distance). Sie werden z.B. bei Untersuchungen mikroskopischer Objekte in Kammern verwendet.
c) Bei einem Wechselkondensor sind ein Durchlicht-Hellfeld- und ein -Dunkelfeldkondensor ineinandergebaut. Er erlaubt raschen Wechsel vom Hellfeld zum Dunkelfeld und umgekehrt.
d) In Sonderfällen werden im Durchlicht Objektive als Kondensoren eingesetzt, z.B. in der Laserrastermikroskopie, bei der im Präparat ein minimaler Leuchtfleck von hoher Abbildungsqualität erzeugt wird.
e) In der UV- und IR-Mikroskopie werden Spiegelkondensoren oder Spiegellinsenkondensoren verwendet, die ähnlich wie die entsprechenden Mikroskopobjektive aufgebaut sind. Es kommen auch Linsenkondensoren aus entsprechend durchlässigem Material (z.B. aus Quarzglas) zum Einsatz.

Mikroskopkondensor 1: Bauformen von Kondensoren. a Kondensor 1,2 (höchste erreichbare Beleuchtungsapertur), auch Abbescher Kondensor genannt; b Kondensor 1,2 mit Großfeldlinse; c achromatisch-aplanatischer Kondensor hoher Apertur (0,9); d langbrennweitiger Kondensor kleiner Apertur (0,12), auch Übersichtskondensor genannt.

Mikroskopkondensor 2: Strahlengang im Kardioidkondensor. Das zentrale, nicht gezeichnete Strahlenbündel wird zurückgeworfen.

Wenn Sie inhaltliche Anmerkungen zu diesem Artikel haben, können Sie die Redaktion per E-Mail informieren. Wir lesen Ihre Zuschrift, bitten jedoch um Verständnis, dass wir nicht jede beantworten können.