Lexikon der Optik: optische Speicherung
optische Speicherung, stellt im Vergleich zu den herkömmlichen Speicherverfahren, bei denen die Informationen auf magnetische Weise sowohl in eine magnetisierbare Schicht (die sich auf einem Band oder einer Scheibe befinden kann) eingeschrieben als auch ausgelesen werden, eine Weiterentwicklung hauptsächlich in Richtung höherer Speicherkapazitäten dar. Den wachsenden Anforderungen an die Speichertechnik wurde bisher im wesentlichen mit einer Vervollkommnung dieser bewährten magnetischen Speicherverfahren begegnet. Demgegenüber bieten die optischen und hier besonders die digitalen optischen Speicherverfahren eine alternative Möglichkeit zur Schaffung großer und kompakter Speicherkapazitäten.
Ein digitaler optischer Speicher (Abk. DOS) ist ein Träger digitaler Informationen, welche auf optische Weise (mittels eines Laserstrahls) gelesen und in den meisten Fällen auch eingeschrieben werden. Das große technische Interesse an ihm beruht vor allem auf der sehr hohen erreichbaren Speicherdichte. Sie wird im Prinzip nur durch die mit optischen Methoden erreichbare minimale Ausdehnung des zum Lesen benutzten Lichtflecks begrenzt, der entsprechend der verwendeten Lichtwellenlänge in der Größenordnung von 1 μm liegt. In dem von diesem Lichtfleck überdeckten Bereich der Speicherschicht läßt sich ein Bit an Informationen speichern, so daß Speicherdichten von 1012 Bit/m2 erreichbar sind. Wegen der lichtoptischen Wirkungsweise der DOS können Informationsträger und Lichtquelle bzw. Lichtempfänger einen relativ großen Abstand voneinander haben, der in praxi einige Millimeter betragen kann. Das ist ein erheblicher Vorteil gegenüber den magnetischen Speichern, bei denen die Minimierung des Spaltes zwischen Informationsträger und Lesekopf und die damit verbundenen Probleme (Abnutzung) eine Schlüsselrolle spielen.
Die DOS sind durchweg so ausgeführt, daß das informationstragende Medium in Form einer dünnen Schicht auf eine Scheibe (engl. disc) aufgebracht wird. In dieser Schicht sind die einzelnen Informationsbits entlang einer spiralförmigen Spur, analog der Rillen einer Schallplatte, eingetragen.
Zum Lesen rotiert die Scheibe (sehr schnell, mit Rotationsgeschwindigkeiten bis zu 2000 Umdrehungen/min); die laterale Bewegung wird von der Optik ausgeführt. Charakteristisch sind Rillenbreiten von 0,5 bis 5 μm bei einem Abstand von 1 bis 10 μm zwischen benachbarten Spuren. Wegen dieser feinen Strukturen auf der Speicherplatte ist eine sehr genaue Positionierung sowohl der Speicherplatte als auch des Lichtstrahls bzw. eine seine Abweichungen korrigierende Nachführung eine Voraussetzung für die Realisierung der lichtoptischen Schreib- und Leseverfahren.
Man unterscheidet drei Arten von digitalen optischen Speicherverfahren:
Read-Only-Verfahren ("nur lesen" durch den Nutzer; die Informationen werden bereits vom Hersteller des Informationsträgers irreversibel eingeschrieben);
Write-Once-Verfahren ("einmal schreiben" durch den Nutzer; die Informationen können einmalig irreversibel eingeschrieben und beliebig oft gelesen werden);
reversible Verfahren (Informationen können eingeschrieben, gelöscht und beliebig oft erneut eingeschrieben werden).
Um digitale Signale auf optische Weise, d.h. mit Hilfe eines Lichtstrahls, in einem Informationsträger einschreiben zu können, müssen diese Signale auf den Lichtstrahl übertragen und dieser entsprechend moduliert werden. Das geschieht mit Hilfe optischer Modulatoren (Modulation des Lichtes).
1) Beim Read-Only-Verfahren wird die Information bereits durch den Hersteller des Informationsträgers einer Platte irreversibel aufgeprägt (eingeschrieben). Diese Entwicklung führte zu kompakten Audio- und Videoplattenspeichern. (Die Bezeichnung Compact Disc, Abk. CD, wird vornehmlich für Audioplatten verwendet.) Eine solche Videoplatte von z.B. 30 cm Durchmesser enthält auf beiden Seiten zusammen eine Informationsmenge von 1010 Bit. Die Platte trägt die Informationen in Form von kleinen Vertiefungen (Pits), die in unterschiedlichen Abständen entlang einer Spiralspur angeordnet sind bzw. sich auch zu einer Vertiefung mit größerer Länge vereinigen können. Die Codierung der Informationen erfolgt dadurch, daß die Vertiefungen unterschiedliche Abstände voneinander besitzen.
Die Herstellung einer Audio- oder einer Videoplatte geschieht auf folgende Weise: Zunächst wird ein auf einem Glasträger aufgebrachter Photolack entsprechend der digitalen Codierung belichtet. Hierbei dreht sich die Platte unter dem optischen System. Das Belichten erfolgt mit einem leistungsfähigen Laser (z.B. einem Krypton-Laser der Wellenlänge λ=0,35 μm) unter Verwendung einer speziellen, beugungsbegrenzten Optik. Daran schließt sich ein mehrstufiger Entwicklungsprozeß an, in dessen Ergebnis eine Masterplatte vorliegt, von der durch ein der Schallplattenherstellung analoges Abdruckverfahren eine große Anzahl von Platten abgeprägt werden kann. Die eingeprägten Pits haben einen Durchmesser von 0,4 bis 0,7 μm und sind etwa 0,1 μm tief. Der Abstand zwischen ihnen beträgt 0,9 bis 3,3 μm und der Abstand zwischen den Spiralspuren 1,6 μm. Die abgeprägten Platten werden versiegelt und mit einer durchsichtigen Schutzschicht versehen, damit die sehr kleinen Pits nicht durch Staubteilchen verdeckt werden können.
Der gegenwärtige Trend geht dahin, einerseits dank stärkerer Fokussierung des Laserstrahls die Abmessungen der Pits wie auch ihren Abstand deutlich zu verringern, und andererseits die Information in zwei übereinanderliegende, durch eine lichtdurchlässige Zwischenschicht getrennte Schichten einzuschreiben, sowie die Platte beidseitig zu nutzen. Das Ergebnis dieser Weiterentwicklung sind die sogenannten Digital Versatile (Video) Discs (Abk. DVD), die gegenwärtig auf den Markt kommen. Sie haben die gleiche Größe wie eine herkömmliche CD (12 cm Durchmesser und 1,2 mm Dicke), jedoch lassen sich auf ihnen bis zu 17 Gigabyte speichern. Dies ist etwa das 17fache wie auf einer CD. Bereits mit einer einlagigen Variante kann daher ein Kinofilm normaler Länge gespeichert werden.
Die in der geschilderten Weise hergestellten informationstragenden Platten werden mit Hilfe eines beugungsbegrenzten optischen Systems gelesen. Dabei gelangen mikrooptische Bauelemente zum Einsatz. Der zum Lesen notwendige optische Kontrast kommt einmal dadurch zustande, daß die Pits als Objekte von der Größenordnung der Lichtwellenlänge Beugungserscheinungen hervorrufen und einen Teil des auftreffenden Leselichtes in andere Richtungen beugen. Zum anderen haben die Pits eine Tiefe von etwa λ/4, so daß das von ihrem Boden reflektierte Licht einen Gangunterschied von λ/2 gegenüber dem an der Plattenoberfläche reflektierten Licht hat und somit eine destruktive Interferenz eintritt. Die Pits reflektieren daher weniger Licht als ihre Umgebung.
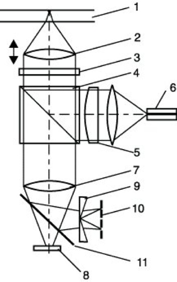
Das in Abb. 1 dargestellte optische System zum Lesen von Videoplatten besteht zunächst aus der Lichtquelle und einem He-Ne-Laser mit einer Leistung von 1 mW, welcher linear polarisiertes Licht abstrahlt. Darauf folgt ein Strahlteiler (Transmissionsgitter, Phasengitter), der das Laserlicht in drei Bündel mit einem Intensitätsverhältnis von 1:3:1 zerlegt. Die Teilbündel der Beugungsordnung -1,0 und 1 des Gitters werden dafür benutzt. Die Teilstrahlen der Beugungsordnung -1 und 1 dienen der Spurkontrolle, während die 0. Beugungsordnung zum Auslesen der Informationen genutzt wird. Eine Zwischenlinse besorgt die Anpassung an die Leseoptik. Als nächstes folgt im Strahlengang ein Wollaston-Prisma. Entsprechend seiner Polarisationsrichtung tritt das Licht aus dem Wollaston-Prisma in zwei verschiedenen Richtungen aus. Es ist so orientiert, daß eine seiner Schwingungsrichtungen mit der des Laserlichtes übereinstimmt. Vor dem Mikroobjektiv zum Lesen der Informationen befindet sich ein λ/4-Plättchen, das doppelt durchlaufen wird und so insgesamt wie ein λ/2-Plättchen wirkt, so daß die Polarisationsebene des Lichtes um 90° gedreht wird. Das von der Speicherplatte – die selbst einen Bestandteil des optischen Systems darstellt – rückgespiegelte Licht trifft also mit einer um 90° gedrehten Polarisationsrichtung wieder auf das Wollaston-Prisma und wird daher seitlich abgelenkt. Das Leseobjektiv ist in seiner Halterung so befestigt, daß es nach dem Tauchspulenprinzip vertikale Bewegungen ausführen und so den Fokuspunkt exakt auf die Informationsspur abbilden kann. Das rückgespiegelte Licht trifft auf eine Zylinderlinse, die es auf einen Quadrantenempfänger abbildet. Durch Kombination der Photoströme der einzelnen Quadranten in der Form (J1+J4)+(J2+J3) bzw. (J1+J4)-(J2+J3) lassen sich das eigentliche Signal bzw. ein Steuersignal zur Fokussierung gewinnen.
Die zur Spurkontrolle benutzten Strahlen werden auf zwei gesonderte Empfänger abgebildet. Das entsprechende Steuersignal ergibt sich aus der Differenz ihrer Photoströme. Auf diese Weise ist es möglich, die Fokussierung auf die Platte mit einer Genauigkeit von ±0,5 μm zu regulieren und die Spur in radialer Richtung mit einer Genauigkeit von ±0,1 μm zu halten.
Das Schema zum Lesen von Audioplatten (Abk. CD) zeigt Abb. 2. Hier wird die Tatsache genutzt, daß das von der Platte rückgestreute Licht alle Informationen über die räumliche Lage des Lesekopfes über der Speicherplatte enthält. Die von den vier Photodioden erhaltenen Photoströme J1 bis J4 können deshalb so miteinander kombiniert werden, daß sowohl ein Steuersignal für die radiale Korrektur als auch eines für die Scharfeinstellung (korrekte Fokussierung) erhalten wird. Ersteres wird aus der Kombination (J1+J2)-(J3+J4) gewonnen, wobei die Unsymmetrie des von der Platte rückgestreuten elektromagnetischen Wellenfeldes ausgenutzt wird, die auftritt, wenn der Lesefleck in radialer Richtung dejustiert ist. Ist das Leseobjektiv relativ zur Platte korrekt eingestellt, dann erscheint hinter den Prismen ein scharfes Bild zwischen den Photodioden P1 und P2 sowie zwischen den Photodioden P3 und P4. Ist die Einstellung nicht korrekt (befindet sich der Lesefleck vor oder hinter der Platte), dann werden die Abbildungen unscharf, und die beiden Bilder bewegen sich aufeinander zu oder voneinander fort. Aus der Kombination (J1+J4)-(J2+J3) kann das Steuersignal für die korrekte Fokussierung der Optik gewonnen werden.
Die für die Audioplatte (CD) entwickelten Systeme werden auch erfolgreich als ROM (Abk. für Read-Only-Memory) in der Datenverarbeitung eingesetzt.
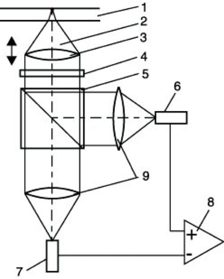
2) Beim Write-Once-Verfahren werden die Informationen vom Nutzer selbst einmalig irreversibel eingeschrieben. Als optisches Aufzeichnungsmedium befindet sich auf einem geeigneten Träger (Glasplatte) ein dünner lichtabsorbierender Film, dessen Dicke 10 bis 100 nm beträgt. In ihn wird mit Hilfe eines Laserstrahls ein kleines Loch gebrannt. Für das Einschreiben eines Bit wird die Leistung des sonst kontinuierlich mit 1 mW betriebenen Lasers kurzzeitig (für 50 ns) auf 12 mW gesteigert, wodurch in eine Tellurschicht ein Loch mit einem Durchmesser von 1 μm gebrannt wird. Bei bisher vorgestellten Geräten beträgt die Speicherkapazität einer Scheibe (Vorder- und Rückseite mit Informationen versehen) 1010 Bit.
Eine wichtige Komponente der Gerätesysteme für die digitale o. S. ist die Lichtquelle, für welche in erster Linie Halbleiterlaser genutzt werden. Bewährt haben sich sogenannte Doppelheterostrukturlaser (Mehrfachheterostrukturlaser) mit einer Schichtstruktur von (Ga,Al)As auf GaAs. Die Wellenlänge des emittierten Laserlichtes liegt bei 0,78 μm. Wünschenswert wäre eine kürzere Wellenlänge, da sich damit der Durchmesser des Lesefleckes verringern und so die Speicherdichte vergrößern ließe. Bei den zum Schreiben und zum Lesen genutzten Objektiven handelt es sich um beugungsbegrenzte Mikroobjektive mit einer sehr geringen Masse (bis herab zu etwa 0,6 g). Sie müssen zur Korrektur der Fokussierung mittels einer Tauchspule sehr schnell bewegt werden, wobei sie Beschleunigungen von mehr als 10g (g Erdbeschleunigung) erfahren. Das Schema des sowohl zum Einschreiben als auch zum Lesen benutzten optischen Systems ist in Abb. 3 dargestellt. Sein Aufbau entspricht weitgehend einer Kombination der in Abb. 1 und 2 erläuterten optischen Systeme für das Read-Only-Verfahren. Auch die Spurkontrolle erfolgt nach dem gleichen Prinzip, wobei sich das optische System an einer verspiegelten Rille orientiert.
3) Die reversible magnetooptische Informationsaufzeichnung stellt eine Kombination der digital-optischen Informationsaufzeichnung mit Verfahren dar, welche die reversiblen Eigenschaften magnetischer Medien nutzen. Informationsträger ist eine rotierende Platte, die eine magnetische Schicht trägt und die mit einem spiralförmigen Graben zur Justierung der Schreib- und Leseoptik versehen ist (Tiefe des Grabens ≈λ/4). Die magnetische Schicht besteht aus einer amorphen Legierung von Seltenerdmetallen(Gd, Tb, Dy) mit den Übergangsmetallen (Fe, Co). Sie wird als RE-TM-Film (RE-TM Abk. für engl. Rare Earth-Transition Metal) bezeichnet und durch Sputtern oder Aufdampfen hergestellt. Derartige Filme sind magnetisch anisotrop mit einer Richtung leichter Magnetisierbarkeit senkrecht zur Filmebene. Das Einschreiben erfolgt auf thermomagnetische Weise. Die RE-TM-Schicht hat zunächst eine einheitliche Magnetisierung senkrecht zur Schichtebene. Zum Einschreiben eines Bit wird die Schicht mit einem fokussierten Laserimpuls punktförmig so erwärmt, daß in einem Fleck mit einem Durchmesser von einigen μm kurzzeitig eine Temperatur erzeugt wird, die der magnetischen Curie-Temperatur (100 bis 150°C bei den Eisenlegierungen) hinreichend nahekommt. Mit Annäherung an die Curie-Temperatur verringern sich Magnetisierung und Koerzitivkraft der magnetischen Schicht, um mit dem Erreichen der Curie-Temperatur zu verschwinden. Beim Abkühlen in einem überlagerten Magnetfeld der Feldstärke 8·103 A/m bis 1,6·104 A/m erhält der Fleck eine Magnetisierung, die entgegengesetzt zur ursprünglichen Richtung orientiert ist.
Um ein aufgezeichnetes Bit selektiv zu löschen, wird die betreffende Stelle mit einem Laserimpuls in einem überlagerten Magnetfeld umgekehrter Richtung erwärmt. Zum Einschreiben bzw. Löschen werden Halbleiterlaser mit 50 mW Leistung benutzt. Im Gegensatz zu den Fe-Legierungen ist es für das Einschreiben bei den Co-Legierungen nicht erforderlich, bis zur Curie-Temperatur zu erwärmen. Die Koerzitivkraft einer GdCo-Legierung fällt bereits wenig oberhalb der sogenannten Kompensationstemperatur auf so kleine Werte ab, daß für die Umkehr der Magnetisierungsrichtung in einem überlagerten Magnetfeld der o.g. Stärke nur ein Erwärmen auf etwa 50°C erforderlich ist. Hierfür genügt bereits ein Laser mit einer maximalen Ausgangsleistung von 5 mW (Kompensations-Punkt-Schreiben).
Das Lesen wiederum macht von dem magnetooptischen Kerr-Effekt (magnetooptische Effekte) Gebrauch. Ausgenutzt wird die zur Magnetisierung proportionale Drehung der Hauptschwingungsrichtung des elliptisch polarisierten Lichtes, das aus einer linear polarisierten Lichtwelle bei der Reflexion an der magnetischen Schicht entsteht. Der Drehwinkel bezüglich der Schwingungsrichtung der einfallenden Welle, der sogenannte Kerr-Winkel, liegt typischerweise zwischen 0,5° und 2,5°. Die Kleinheit des magnetooptischen Kerr-Effektes stellt bei den magnetooptischen Speicherverfahren ein Problem dar.
Das Schema eines magnetooptischen Speichersystems entspricht weitgehend dem für das Write-Once-Verfahren (Abb. 3).
Zum Einschreiben dient ein Halbleiterlaser mit einer Leistung von 5 mW. Die weiteren optischen Bauelemente gehen aus Abb. 4 hervor. Das Lesen wird mit dem gleichen optischen System durchgeführt wie das Schreiben, wobei eine für die Magnetooptik spezifische Baugruppe hinzukommt (Abb. 5). Das elliptisch polarisierte reflektierte Licht wird durch eine entsprechend dimensionierte Phasenplatte in linear polarisiertes Licht umgewandelt. Dieses wird durch den polarisationsabhängigen Strahlteiler in zwei Anteile zerlegt, von denen jeder für sich empfangen werden kann. Die entsprechenden Signale werden zu einem Differenzverstärker geleitet und dort verstärkt. Das so erhaltene Signal gibt Auskunft über die Magnetisierungsrichtung an der betreffenden Stelle der Speicherschicht und zeigt damit an, ob dort ein Bit eingeschrieben wurde oder nicht.
Eine weitere Möglichkeit, die Informationen optisch aufzuzeichnen bietet die Holographie. Beim Aufzeichnungsvorgang interferiert eine spärische Welle (Abb. 6), in deren Strahlengang sich die Datenvorlage (z.B. eine elektronisch ansteuerbare Flüssigkeitsmatrix, der sogenannte Page Composer) befindet, mit einer Referenzwelle. Auf dem optischen Speichermedium entsteht so das gewünschte Hologramm. Der nächste Schritt besteht darin, daß der Page Composer elektronisch gesteuert mit neuen Informationen belegt wird und die zum Aufzeichnen erforderlichen Lichtstrahlen mit einem Lichtablenksystem (Lichtablenkung) auf eine benachbarte Stelle der Speicherplatte gelenkt werden, wo ein weiteres Hologramm eingespeichert wird. Das Auslesen der Informationen erfolgt so, daß das von einem Lichtablenksystem kommende Strahlenbündel als Rekonstruktionswelle dient und das rekonstruierte Bild eines jeden Einzelhologramms auf eine Detektormatrix abgebildet wird (Abb. 7). Nach dem eben beschriebenen Prinzip konnten im Labor optische Speicheranordnungen mit einer Kapazität zwischen 107 und 108 Bit aufgebaut werden. In dünnen optischen Speichermedien können gegenwärtig etwa 1011 Bit/m2 gespeichert werden. Unter Nutzung der Volumenholographie ist es theoretisch möglich, etwa 1016 Bit/m3 zu speichern. Bisher wurden für Versuchszwecke irreversible holographische Speicher erfolgreich aufgebaut. Sie können verwendet werden als Datenspeicher mit häufigem Zugriff, Archivspeicher mit gelegentlichem Zugriff sowie externe Zusatzspeicher mit wahlfreier Adressierung in EDV-Anlagen. Unter Hinzunahme der Volumenholographie sollte es möglich sein, optische Assoziationsspeicher und mehrfunktionelle optische holographische Speicher für informationsverarbeitende Operationen direkt im Speicher aufzubauen.

Optische Speicherung 1: Optikschema zum Lesen von Videoplatten. 1 He-Ne-Laser, 2 Gitter, 3 Anpassungsoptik, 4 Wollaston-Prisma, 5 λ/4-Plättchen, 6 Leseobjektiv, 7 Speicherplatte, 8 Zylinderlinse, 9 Empfängerebene.

Optische Speicherung 2: Optikschema zum Lesen von Audioplatten. 1 Lesefleck, 2 Schutzschicht auf der Platte, 3 Leseobjektiv, 4 optisches System für die Wandlung des vom Halbleiterlaser abgestrahlten Wellenfeldes in ein ebenes Wellenfeld, 5 Prismen, 6 Teilerspiegel, 7 Halbleiterlaser; P1, P2, P3, P4 Photodioden.

Optische Speicherung 3: Schema des optischen Schreib- und Lesekopfes für das Write-Once-Verfahren. 1 Speicherplatte, 2 Leseobjektiv, 3 λ/4-Plättchen, 4 polarisationsabhängiger Strahlteiler, 5 Zylinderlinse, 6 Halbleiterlaser, 7 abbildendes optisches System, 8 Empfänger für die radiale Spurkontrolle, 9 Prismen, 10 Empfänger für die Signalgewinnung und die Fokuskontrolle, 11 Teilerspiegel.

Optische Speicherung 5: Schema für die Signalgewinnung mittels des polaren Kerr-Effekts. 1 optische Speicherplatte, 2 reflektiertes Licht, 3 Mikroobjektiv, 4 Phasenplatte, 5 polarisationsabhängiger Strahlteiler; 6, 7 Empfänger, 8 Differenzverstärker, 9 abbildende optische Systeme.

Optische Speicherung 6: Anordnung zum Einschreiben eines Hologramms für die Datenspeicherung. 1 Datenvorlage, 2 Hologrammplatte, 3 Referenzwelle, 4 sphärische Welle.


Wenn Sie inhaltliche Anmerkungen zu diesem Artikel haben, können Sie die Redaktion per E-Mail informieren. Wir lesen Ihre Zuschrift, bitten jedoch um Verständnis, dass wir nicht jede beantworten können.