Lexikon der Optik: photoelektrischer Bildverstärker
photoelektrischer Bildverstärker (engl. image intensifier), ein Vakuumphotoempfänger für den Nachweis intensitätsschwacher Bilder, in verschiedenen Ausführungsformen eingesetzt vom nahen Infrarot- bis zum Ultraviolett- und Röntgenstrahlungsbereich.
Aufbau und Wirkungsweise. Ein evakuierter Glaskolben enthält eine Eingangsphotokatode, ein elektronenoptisch abbildendes System sowie einen Ausgangsleuchtschirm bzw. das Silicium-Target eines Vidikons (Bildaufnahmeröhre), vor welchem jeweils noch eine Mikrokanalplatte (MCP) als Vervielfacherelement angeordnet sein kann. Die Helligkeitsverteilung des auf die Photokatode projizierten optischen Bildes wird in eine entsprechende Dichteverteilung der emittierten Photoelektronen umgewandelt, die – elektronenoptisch abgebildet und gegebenenfalls vervielfacht – entweder den Leuchtphosphor zur Lumiszenz anregen oder das Potentialrelief des Ladungsspeichertargets aufbauen. Entsprechend wird das Signal des p. B. entweder als Leuchtschirmbild visuell beobachtet bzw. mittels CCD-Kamera photoelektrisch registriert oder direkt elektrisch ausgewertet. Die Güte des p. B. wird durch die erreichte Empfindlichkeit und Ortsauflösung bestimmt (Photoempfänger). Die Empfindlichkeit wird charakterisiert als Lichtverstärkung GL (engl. luminance gain) oder durch Angabe der dem Untergrund äquivalenten Eingangsstrahlung EBI (Abk. für engl. equivalent background illuminance), d.h. derjenigen Belichtung, die die gleiche Leuchtschirmhelligkeit hervorrufen würde, wie sie allein infolge von Dunkelemission der Photokatode und anderen Rauschquellen des abgedunkelten, aber unter voller Betriebsspannung stehenden p. B. zustande kommt. Die Empfindlichkeit hängt ab von der Quantenausbeute QPK(λ) der Photokatode (λ Wellenlänge), von der Lumineszenzausbeute QLS des Leuchtschirmes, vom Abbildungsmaßstab (M) Photokatode/Leuchtschirm sowie von der Elektronenvervielfachung GMCP in der Mikrokanalplatte bzw. GSIT im Vidikon-Target.
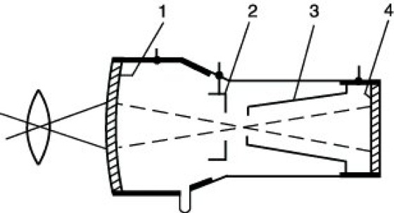
Ausführungsformen. (Abbn. 1-3). 1) Einfache Bildwandler arbeiten ohne Elektronenvervielfachung und dienen vorwiegend der spektralen Wandlung von IR-, UV- und Röntgenstrahlung in den sichtbaren Bereich. Ihre Empfindlichkeit wird photometrisch charakterisiert durch die Lichtverstärkung GL=(Lichtstärke des Leuchtschirms)/(auftreffender Lichtstrom), gemessen in cd/lm bei definierter Farbtemperatur der Lichtquelle und gegebenenfalls bei bestimmtem Farbfilter. Befinden sich Photokatode und Leuchtschirm jeweils auf einer Faseroptikplatte als Ein- bzw. Austrittsfenster, so lassen sich mehrstufige Bildwandlerkaskaden in direkter optischer Kopplung (ohne Abbildung durch Linsen) zusammenstellen. 2) P. B. mit Elektronenvervielfachung besitzen eine vor dem Leuchtschirm angebrachte Mikrokanalplatte (MPC), die die Photoelektronen "bildpunktweise" vervielfacht, bevor sie in einer "proximity"-Fokussierung (Plattenkondensator-Anordnung mit 1:1-Abbildung) beschleunigt werden und schließlich den Leuchtschirm treffen. Höchstempfindliche Ausführungen sind thermoelektrisch gekühlt, arbeiten mit zwei und drei hintereinandergeschalteten Mikrokanalplatten und photoelektrischer Registrierung mittels positionsempfindlicher Photodiode oder CCD-Kamera. Sie erreichen Empfindlichkeiten, die dem Nachweis einzelner Photoelektronen pro Bildpunkt entsprechen. 3) P. B. nach dem SIT-Prinzip nutzen die Tatsache, daß beschleunigte Elektronen in Silicium sekundäre Ladungsträgerpaare durch Stoßionisation freisetzen. Im SIT-Vidikon fungiert das Multidiodentarget nicht als lichtelektrischer Wandler, sondern – von den Photoelektronen aus einer vorgeschalteten Photokatode bombardiert – als Verstärkerelement (engl. silicon intensifying target, Abk. SIT), das bei Elektronenenergien von 10 keV Verstärkungswerte GSIT>103 liefert. P. B. dieser Art werden auch Restlicht-Kameraröhren genannt, da sie im Vergleich zu üblichen Vidikon-Bildaufnahmeröhren bei 104fach niedrigeren Beleuchtungsstärken arbeiten. Kombiniert mit rechnergestützter Bildauswertung erreichen sie ebenfalls Empfindlichkeiten, die dem Nachweis eines Photoelektrons pro Bildpunkt und Abfragezyklus entsprechen. 4) Zeitgeschaltete p. B. gestatten, durch ein impulsförmiges "Aufschalten" des elektrisch gesperrten MCP- oder SIT-Bildverstärkers Kurzzeitbilder aufzunehmen. Erreicht werden Expositionszeiten bis herab zu 2 ns bei mehr als 104 Bildpunkten und einem Dynamikumfang (Photoempfänger) von 200:1. 5) Als Röntgenbildverstärker werden etwas mißverständlich zwei Anordnungen bezeichnet: bei der einen wird ein intensitätsschwaches Röntgenschirmbild auf die Eingangsphotokatode eines MCP- oder SIT-Bildverstärkers projiziert und in seiner Helligkeit verstärkt, bei der anderen trifft die Röntgenstrahlung direkt auf eine in der gleichen Vakuumkammer befindliche Mikrokanalplatte und erzeugt dort an einer Photokatode (z.B. Gold oder CsI, aufgedampft direkt am Eingang jedes Kanals) Röntgen-Photoelektronen, die vervielfacht werden und auf dem nachgeschalteten Lumineszenzschirm ein Bild der Röntgenintensitätsverteilung ergeben.
Anwendungen. P. B. wurden forciert für militärische Anwendungen in Infrarot- und Nachtsichtgeräten entwickelt, finden heute aber zunehmend auch zivile Nutzung in der Forschung und z.B. in Wärmebildaufnahmen oder IR- und UV-Untersuchungen von Kunstwerken.

Photoelektrischer Bildverstärker 1: Einfacher Bildwandler, elektrostatisch fokussiert. 1 Photokatode, 2 Linsenelektrode, 3 Anode, 4 Leuchtschirm.

Photoelektrischer Bildverstärker 2: Bildverstärker der 2. und 3. Generation. 1 Photokatode auf Faseroptikplatte, 2 Mikrokanalplatte, 3 Leuchtschirm auf Faseroptikplatte, 4 elektrostatische Fokussierelektrode.

Photoelektrischer Bildverstärker 3: SIT-Vidikon. 1 Eintrittsfenster (Faseroptikplatte) mit Photokatode, 2 Beschleunigungselektrode (Gate), 3 Fokussierelektrode, 4 Si-Multidiodentarget, 5 Vidikon, Ra Arbeitswiderstand.
Wenn Sie inhaltliche Anmerkungen zu diesem Artikel haben, können Sie die Redaktion per E-Mail informieren. Wir lesen Ihre Zuschrift, bitten jedoch um Verständnis, dass wir nicht jede beantworten können.