Lexikon der Optik: Stereomikroskopie
Stereomikroskopie, die Verfahren der Mikroskopie, mit denen man mikroskopische Objekte entweder direkt räumlich sehen oder photographische Raumbildpaare von ihnen erhalten kann.
1) Optik. Für den optischen Aufbau von Stereomikroskopen gibt es zwei prinzipielle Ausführungsformen, die sich in der Zahl der Objektive unterscheiden:
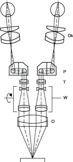
a) Stereomikroskope mit zwei Objektiven. Es werden in der von H.S. Greenough 1882 vorgeschlagenen und von E. Abbe 1897 realisierten Form (auch Greenough-Typ genannt) zwei getrennte, unter einem Winkel von 12° bis 14° gegeneinander geneigte Mikroskope verwendet (Abb. 1). Dieser Winkel entspricht etwa dem Konvergenzwinkel der Augenachsen beim Betrachten eines Gegenstandes aus der Entfernung der konventionellen Sehweite. Ein spezielles Prismen- oder Spiegelumkehrsystem richtet das Bild auf, so daß es in Höhe, Seite und Tiefe in der gleichen Lage wie das Objekt gesehen wird. Dies ist nötig, weil derartige Mikroskope in der Regel dazu dienen, an den Objekten mit der Hand oder mit Hilfe von Werkzeugen zu manipulieren bzw. aus den Tiefenverhältnissen auf Art und Beschaffenheit der Objekte oder der Fehlerstellen in Objekten zu schließen. Außerdem bewirkt das Umkehrsystem eine Abknickung des Strahlenganges mit dem Ziel, einen ergonomisch günstigen Einblickwinkel von etwa 30° bis 60° (meistens 45°) zu erhalten.
Da die Objektive sehr dicht nebeneinander liegen, sind keine hohen Aperturen möglich. Die maximal erreichbare Apertur ist etwa 0,12, so daß die förderliche Vergrößerung den Wert 100 nicht wesentlich übersteigt. Um ein getreues Abbild des Objektes zu erhalten, müßten seitliche (laterale) und Tiefenvergrößerung gleich sein. Da aber die Tiefenvergrößerung mit dem Quadrat der Lateralvergrößerung wächst, würden sich bei Vergrößerungen, die das 100fache wesentlich übersteigen, starke räumliche Verzerrungen ergeben, so daß von dieser Seite ebenfalls eine Grenze für die Vergrößerung gegeben ist. Außerdem wäre eine weitere Steigerung der Vergrößerung nicht sinnvoll, da die Schärfentiefe mit der Vergrößerung und dem Quadrat der Apertur abnimmt und somit ebenfalls keine reale Beurteilung der Tiefenverhältnisse des Objektes mehr möglich ist.
Zum Ändern der Vergrößerung sind die Objektivpaare meistens austauschbar. Sie sind entweder auf einzelnen Schlitten angebracht, oder es sind Schnellwechselvorrichtungen vorhanden (Wechselschieber, Objektivrevolver u.a.). Eine besondere Art des Vergrößerungswechsels, die zunehmend an Bedeutung gewinnt, ist der Einsatz von pankratischen Systemen. Dieses Prinzip hat den Vorteil, daß innerhalb des Vergrößerungsbereiches beliebige Vergrößerungen bzw. Objektfeldausschnitte einstellbar sind, und daß das Bild während des Vergrößerungswechsels nicht aus dem Gesichtsfeld verschwindet.
b) Stereomikroskope mit einem Objektiv. Diese, allgemein als Fernrohrtyp bezeichnete Ausführungsform, die 1946 zum ersten Mal gebaut wurde, ist mit einem beiden Teilstrahlengängen gemeinsamen Hauptobjektiv ausgestattet, in dessen dingseitiger Brennebene das Objekt liegt. Zwei Tubussysteme blenden aus dem vom Objektiv angebotenen parallelen Lichtbündel zwei auch zueinander parallele Teilbündel derart aus, daß deren vor dem Objektiv konvergente Achsen den erforderlichen Winkel von 12° bis 14° bilden und erzeugen zwei unter diesem Winkel gesehene reelle Zwischenbilder (Abb. 2). Dieses optische Prinzip gestattet eine spezielle Art des Vergrößerungswechsels. Dabei sind in einer zwischen Objektiv und Tubussystemen liegenden drehbaren Walze, deren Achse senkrecht zu den optischen Achsen steht, zwei Paare von Galilei-Systemen angebracht, die in beiden Richtungen benutzt werden können und somit vier verschiedene Vergrößerungen ermöglichen; eine fünfte Vergrößerung ergibt sich durch einen freien Durchgang. Das Prinzip des pankratischen Vergrößerungswechslers ist bei diesem Typ besonders vorteilhaft einzusetzen und wird demzufolge sehr häufig benutzt. Die Bildaufrichtung und die Einblickneigung erfolgen analog wie beim Greenough-Typ, wobei das bildaufrichtende System beim Fernrohrtyp außerdem noch die Aufgabe erfüllt, die beiden Teilstrahlengänge wieder etwa in eine dem natürlichen Sehen entsprechende Konvergenzstellung abzulenken. Der Augenabstand ist einstellbar. Es werden Okulare mit normalem Steckdurchmesser von 23,2 mm sowie im Interesse der Überschaubarkeit größerer Objektausschnitte in zunehmendem Maße Großfeldokulare mit 30 mm Steckdurchmesser benutzt. Zusätzliche Möglichkeiten zur Erweiterung des Vergrößerungsbereiches sind durch Okularwechsel und durch den Einsatz von Vorsatzlinsen gegeben, die eine Veränderung der Objektivvergrößerung und damit der Gesamtvergrößerung des Mikroskops um einen (jeweils aufgravierten) Faktor bewirken. Letztere Variante hat den Vorteil, daß sich die Apertur linear mit dem genannten Faktor der Vorsatzlinse ändert und damit die Bildhelligkeit konstant und das Auflösungsvermögen innerhalb der förderlichen Vergrößerung bleibt, aber den Nachteil, daß sich der Konvergenzwinkel und damit auch die scheinbaren Tiefenverhältnisse ändern.
2) Das Stativ der Stereomikroskope besteht in der Regel aus einer runden oder rechteckigen Fußplatte, dem Triebkasten mit den mechanischen Einrichtungen für einen Grobtrieb und dem Mikroskopträger, der entweder massiv (ähnlich dem konventioneller Allgemeinmikroskope) oder als Rundsäule, an der das Mikroskop in verschiedener Höhe festgeklemmt werden kann, ausgeführt ist. Häufig sind zwischen Stativ und Mikroskopkörper mechanische Trennstellen vorgesehen, um das Mikroskop abnehmen und entweder direkt an Maschinen, Vorrichtungen, Werkbänke u.a. oder an spezielle Stative (z.B. Photo-, Durchlicht-, Knick-, Schwenkarm-, Tischklemmstativ) anbringen zu können.
Der Mikroskopfuß besitzt eine zentrische Öffnung, in der bei der Grundausrüstung als Auflichtmikroskop eine Metallplatte liegt, die zur Erzielung eines optimalen Objektkontrastes mit ihrer weißen oder schwarzen Seite nach oben eingelegt wird. Für Durchlichtbeleuchtung wird sie durch eine Glasplatte ersetzt. Außerdem lassen sich in dieser Öffnung verschiedene Tischeinsätze zentrisch aufnehmen.
Spezielle Stereomikroskope mit ähnlichem Aufbau des Mikroskopkörpers aber dem speziellen Verwendungszweck in der medizinischen Praxis angepaßten Stativen sind das Operationsmikroskop, das Kolposkop und das Hornhautmikroskop.
3) Die Beleuchtung erfolgt in der Regel mit Hilfe einer seitlich angeordneten Kollektorleuchte, ist also eine einseitige steilschräge Auflicht-Dunkelfeldbeleuchtung. Für die überwiegende Zahl aller Anwendungsfälle ist diese Beleuchtungsart, da es sich um Objekte mit strukturierter Oberfläche handelt, optimal. Einfallswinkel und Azimut lassen sich meistens in gewissen Grenzen variieren. Die Leuchtfeldgröße ist durch Verschieben der Lampe gegenüber dem Kollektor einstellbar. In letzter Zeit wird in zunehmendem Maße Faseroptik zur Lichtübertragung verwendet, die mit einer selbsttragenden biegsamen Ummantelung versehen ist. Das hat den Vorteil, daß die Einstellung von Azimut und Einfallswinkel bequem und ohne aufwendige mechanische Elemente möglich ist und die Beleuchtung überdies objektschonend ist, da die Fasern für langwellige Wärmestrahlung undurchlässig sind. Für spezielle Objektstrukturen sind verschiedene Beleuchtungseinrichtungen gebräuchlich, die als Zusatzeinheiten am Grundgerät nachrüstbar sind:
a) Die Hellfeld-Auflichteinrichtung ermöglicht es, ebene, regelmäßig reflektierende Objekte mit deutlich verbessertem Kontrast und erhöhter Detailerkennbarkeit zu betrachten. Die Einrichtung arbeitet mit zwei getrennten Beleuchtungsanordnungen, die separat fluchtend in die beiden Beobachtungsstrahlengänge eingespiegelt werden.
b) Der Vertikalilluminator dient zur Erzeugung von senkrechtem Auflicht, das zur Ausleuchtung von Bohrungen und stark zerklüfteten Oberflächen geeignet ist. Die Lichteinspiegelung erfolgt zwischen den beiden Beobachtungsstrahlengängen.
c) Die Flächenleuchte erzeugt eine weitgehend diffuse Objektausleuchtung und vermeidet damit Schatten- und Reflexbildung bei stark strukturierten oder gekrümmten Objektoberflächen. Sie besteht aus einer möglichst großflächigen Matt- oder Opalscheibe, die durch Glühlampen oder Leuchtstoffröhren beleuchtet wird. Ihre Anbringung erfolgt seitlich oder besser konzentrisch zum Objektiv.
d) Für Durchlichtbeleuchtung ist meistens ein Durchlichtuntersatz vorgesehen, bei dem die Ausleuchtung mit Hilfe der abnehmbaren Auflichtleute über einen mattierten Umlenkspiegel erfolgt.
Zunehmend werden spezielle Durchlichtfüße mit eingebauter Beleuchtung angeboten, mit denen auch wahlweise eine Beobachtung im Hell- oder Dunkelfeld möglich ist.
4) Auswechselbare Tische ermöglichen für viele verschiedene Anwendungsgebiete eine komfortable Art der Objekthalterung und -führung. Allgemein gebräuchlich sind: Objektführer, Kreuztisch, Gleittisch, Drehtisch (gelegentlich auch durch Einbau eines Polarisators und die Schaffung einer Möglichkeit für das Ansetzen eines Analysators an das Objektiv zur Polarisationseinrichtung erweitert), Kugeltisch zum allseitigen Neigen des Objektes, Prismenaufnahme zum sicheren Auflegen von runden Teilen, Lagersteinzange u.a.
5) Zwischentuben. Wegen des parallelen Strahlenganges zwischen Objektiv und Tubuslinse ist es beim Fernrohrtyp möglich, an dieser Stelle optische Strahlteilerelemente einzuführen, mit denen sich durch Ein- oder Ausspiegelung zusätzliche Funktionen realisieren lassen. Dazu ist der Binokulareinblick abnehmbar, so daß zwischen ihm und dem Vergrößerungswechsler entsprechende Zusatzeinheiten eingesetzt werden können. Weitgehend gebräuchlich sind folgende Zwischentuben:
a) Der Phototubus gestattet es, einen Strahlengang (wahlweise oder gleichzeitig) in einen trinokularen Ausgang einzuspiegeln, an den sowohl handelsübliche Kleinbildkameras als auch spezielle mikrophotographische Kameraansätze aller üblichen Bildformate angeschlossen werden können. Außerdem wird der Phototubus gelegentlich dazu genutzt, Projektionsansätze oder Fernsehkameras anzuschließen. Diese Verfahren liefern allerdings nur zweidimensionale Bilder.
b) Mit dem Zeichentubus kann eine, meistens neben dem Mikroskop liegende Zeichenfläche in das Zwischenbild des Mikroskops eingespiegelt werden, so daß mikroskopisches Objekt, Zeichenfläche und Zeichenstift gleichzeitig gesehen und die Objektkonturen nachgezeichnet werden können.
c) In einem Zweitbeobachtertubus findet eine Strahlteilung kombiniert mit einer Strahlversetzung statt, so daß zwei entweder gegenüber- oder nebeneinanderliegende Binokulareinblicke entstehen. Er dient vorwiegend zur Anleitung und Überwachung.
d) Der Vergleichstubus verbindet zwei identische Stereomikroskope miteinander. In einem gemeinsamen Okular werden die Gesichtsfeldhälften beider Geräte scharf getrennt nebeneinander wiedergegeben, so daß sich zwei Objekte, z.B. Original und Kopie, leicht vergleichen lassen.
e) Zwischentubus zur Veränderung des Einblickwinkels: In der einfachen Form bewirkt ein beiden Strahlengängen gemeinsames Reflexionsprisma eine Vergrößerung bzw., um 180° gedreht aufgesetzt, eine Verringerung des Einblickwinkels bzw. der Einblickhöhe. Bei der komfortableren Variante, dem sogenannten Ergonomietubus, ist der Einblickwinkel mit Hilfe beweglicher Umlenkelemente kontinuierlich verstellbar.
6) S. mit dem einobjektivigen Mikroskop. Einen räumlichen Eindruck kann man nach E. Abbe auch mit einem normalen einobjektivigen Mikroskop mit Binokulartubus erhalten, wenn man die Austrittspupillen des Mikroskops etwa durch Kappen, die auf die Okulare aufgesetzt werden, zur Hälfte abdeckt. Deckt man jeweils die nasalen (inneren) Hälften ab, dann erhält man ein orthoskopisches Bild, das dem Objekt entspricht; werden umgekehrt die temporalen (äußeren) Hälften abgedeckt, dann ist die Bildwiedergabe tiefenverkehrt (pseudoskopisches Bild). Den gleichen Effekt erzielt man auch ohne zusätzliche Blenden mit zu weit oder zu eng gestelltem Binokulartubus, wobei also die Augenpupillen die Austrittspupillen halbieren. Ein anderes Verfahren besteht darin, das Licht in den beiden Hälften der Austrittspupille des Objektivs durch zwei Polarisationsfilter verschieden zu polarisieren und durch entsprechende Polarisationsfilter in den Okularen den Augen die geeigneten Bilder zuzuführen.
7) Stereomikroprojektion. Die Wandlung des Stereomikroskops vom Hilfsmittel des Forschers zum Arbeitsmittel der industriellen Fertigung macht es erforderlich, die auf Dauer ermüdende Okularbeobachtung durch neue Verfahren zu ersetzen. Die Lösung des Problems liegt darin, eine künstlich vergrößerte Pupille zu schaffen. Dazu sind bisher folgende Verfahren bekannt geworden:
a) Stereomikroprojektion mit Mattscheibenbild. Das Prinzip der Erzeugung von Raumbildpaaren und die verwendeten optischen Bauelemente für Objektive und Vergrößerungswechsler sind die gleichen wie beim Stereomikroskop mit Okularen. Der Binokulareinblick ist durch einen Stereoprojektionsaufsatz ersetzt, der beide Teilbilder unter Einhaltung des Konvergenzwinkels von 12° über zwei Projektive aufrecht und seitenrichtig auf eine Mattscheibe abbildet (Abb. 3). Eine Fresnel-Linse, die unmittelbar vor der Mattscheibe angeordnet ist, bildet die Austrittspupillen des Gerätes so ab, daß ihre beiden Bilder in etwa 300 mm Entfernung vor der Mattscheibe in einem gegenseitigen Abstand von 65 mm nebeneinander entstehen. Dabei erfüllt die Mattscheibe außer ihrer Funktion als Bildauffangebene noch die Aufgabe, die Austrittspupillen diffus aufzuweiten. Dadurch wird die Beobachtung eines räumlichen Schirmbildes erreicht, wobei eine begrenzte Bewegungsfreiheit des Kopfes in Beobachtungsrichtung und seitlich dazu gegeben ist. Bei seitlicher Kopfbewegung erscheint das Bild mit zunehmendem Abstand der Augenpupille vom Mittelpunkt der Gerätepupille entsprechend der Streuindikatrix der Mattscheibe dunkler. Bildhelligkeit, Auflösungsvermögen und Schärfentiefe erreichen nicht die gleiche Qualität wie beim Stereomikroskop.
b) Stereomikroprojektion mit Luftbild. Entsprechende Systeme bauen ebenfalls auf dem Prinzip der üblichen Stereomikroskope auf, wobei die Okulare entweder so defokussiert werden, daß ein reelles Bild in endlicher Entfernung entsteht, oder durch Projektive ersetzt sind. Das mikroskopische Zwischenbild wird auf eine Rasterscheibe projiziert, deren Oberfläche ähnlich einer Wabenlinse aus einer Vielzahl kleiner Einzellinsen oder -reflektoren besteht (Abb. 4). Lage und Größe des Zwischenbildes werden durch diese Rasterscheibe nicht beeinflußt. Das Bild wird jedoch entsprechend der Anzahl und Anordnung der Einzelelemente der Rasterscheibe in viele sehr kleine Bildpunkte zerlegt, die durch Zwischenräume getrennt sind, also kein vollständiges Bild liefern. Jedes der Einzelelemente erzeugt aber ein vollständiges Pupillenbild, das zwar stark verkleinert, aber mit einem sehr großen Öffnungswinkel abgebildet wird. Mit Hilfe einer Lupe, eventuell unter Zwischenschaltung einer Feldlinse, werden diese einzelnen Lichtkegel zu einer konkret begrenzten Pupille vereinigt, deren Durchmesser von der Brechkraft der Einzelelemente und der Brennweite der Lupe bzw. der Feldlinse abhängig ist. Nach diesem Prinzip können Pupillendurchmesser von über 100 mm erreicht werden. Für stereoskopische Beobachtung muß das System so dimensioniert werden, daß der Pupillendurchmesser den mittleren Augenabstand von etwa 65 mm nicht übersteigt, da sonst eine Vermischung der stereoskopischen Teilstrahlenbündel auftritt und der Stereoeffekt teilweise verwischt wird. Durch Rotation der Rasterscheibe (im praktischen Anwendungsfalle mit etwa 1500 U/min) wird das Zwischenbild lückenlos abgerastert. Außerdem ist wegen der Trägheit des Auges die Struktur des Scheibenrasters visuell nicht mehr erkennbar. Die Nachteile dieser Anordnung liegen in dem hohen Aufwand für die Fertigung der Rasterscheibe, in der Beherrschung der durch die Drehung der Scheibe entstehenden Vibrationen und in der Tatsache, daß die Bahngeschwindigkeit zur Mitte der Scheibe hin gegen Null geht und damit das Auflösungsvermögen an der Stelle der größten Sehschärfe geringer wird.
8) Stereomikrophotographie. Dabei werden entweder gleichzeitig oder nacheinander Raumbildpaare aufgenommen, die im Stereomikroskop betrachtet oder auch in photogrammetrischen Auswertegeräten ausgemessen werden können.
a) Stereomikrophotographie mit Stereomikroskop. Zum Photographieren werden Kamerakörper handelsüblicher SLR-Kameras oder vom Mikroskophersteller angebotene spezielle Kameraansätze benutzt, die über meistens austauschbare Projektive an das Mikroskop angepaßt werden.
Die einfachste und generell einsetzbare Methode ist das Photographieren über den Okulartubus. Kameraansatz mit Projektiv werden nacheinander in beide Okulartubusrohre eingesetzt, und es wird je ein Bild aufgenommen. Wegen des labilen Aufbaus ist die Verwacklungsgefahr groß.
Bei Stereomikroskopen des Fernrohrtyps bevorzugt man deshalb das Photographieren über Photozwischentuben:
α) Der normale Phototubus mit aufmontiertem Kameraansatz wird nacheinander in zwei um 180° versetzten Stellungen eingesetzt und je eine Aufnahme gemacht.
β) Ein spezieller Photoschiebetubus gestattet, den aufmontierten Kameraansatz nacheinander zentrisch bezüglich der beiden Strahlengänge zu orientieren und so die beiden Teilbilder schnell hintereinander aufzunehmen.
γ) Strahlteiler für beide Strahlengänge erlauben das gleichzeitige Anbringen zweier Kameraansätze und bieten so die Möglichkeit, das Raumbildpaar gleichzeitig aufzunehmen, so daß auch bewegte Objekte photographiert werden können.
δ) Ein spezieller Stereophotoansatz erzeugt ein Raumbildpaar innerhalb eines Bildformates.
b) Stereomikrophotographie mit dem einobjektivigen Mikroskop. Bei einem der gebräuchlichen Verfahren wird das Objekt gegen die optische Achse des Mikroskops geneigt oder umgekehrt. Das Objekt wird zu diesem Zwecke auf einer Wippe (Fröhlichsche Wippe) angebracht, deren Achse senkrecht zur optischen Achse steht. Das eine Teilbild wird aufgenommen, wenn die Wippe um den halben Konvergenzwinkel nach der einen Seite ausgeschwenkt worden ist; für die Aufnahme des zweiten Teilbildes wird sie nach der anderen Seite geschwenkt. Bei Auflichtaufnahmen muß die Beleuchtung mitgeschwenkt werden, damit die Schatten auf beiden Teilbildern gleich sind.
Bei einem anderen Verfahren wird das Objekt seitlich zur optischen Achse des Mikroskops verschoben oder umgekehrt. Die Verschiebung wird am einfachsten mit dem Objektführer oder dem Kreuztisch vorgenommen. Das Bildfeld wird nur zur Hälfte ausgenutzt. Die beiden Teilaufnahmen werden entweder auf zwei verschiedenen Platten oder mit Hilfe einer Halbblende, die nach der einen Aufnahme um 180° umgelegt wird, auf der gleichen Platte vorgenommen. Der Konvergenzwinkel läßt sich aus der Verschiebung des Objektes aus der Mittellage und dem Abstand der Einstellebene von der Eintrittspupille des Objektivs berechnen. Die Auflichtbeleuchtung muß im gleichen Maße seitlich verschoben werden, die Durchlichtbeleuchtung nicht.




Wenn Sie inhaltliche Anmerkungen zu diesem Artikel haben, können Sie die Redaktion per E-Mail informieren. Wir lesen Ihre Zuschrift, bitten jedoch um Verständnis, dass wir nicht jede beantworten können.