Lexikon der Optik: Interferenzmikroskop
Interferenzmikroskop, Mikrointerferometer, ein Instrument, in dem Interferometer und Mikroskop so miteinander kombiniert sind, daß das vergrößerte Bild des Objektes von Interferenzen überlagert erscheint. Aus diesen können Dicke, Brechungsindex sowie Oberflächenstrukturen des Objektes, der Phasensprung des Lichtes bei der Reflexion oder Kombinationen dieser Größen ermittelt werden (Interferogramm). Das I. ist eines der wichtigsten Instrumente der Mikroskopie der Phasenstrukturen.
Es lassen sich zwei Gruppen von I. unterscheiden. Bei der ersten wird das Licht nur in einem Teilstrahlengang (dem Objektstrahlengang) vom Objekt beeinflußt, während es in dem anderen (dem Vergleichsstrahlengang) mit dem Objekt nicht in Berührung kommt. Bei der zweiten Gruppe werden beide Teilwellen durch das Objekt beeinflußt. Beide Methoden haben ihre Vor- und Nachteile. Die erste Methode erfordert einen sehr hohen technischen Aufwand, wenn man auch mit starken Objektiven genaue Gangunterschiedsmessungen ausführen will. Die zweite Methode läßt sich technisch wesentlich leichter realisieren. Ihr Nachteil besteht darin, daß auch dem Vergleichsstrahl Objektstrukturen aufgeprägt sind, was insbesondere bei stark strukturierten Präparaten zu erheblichen Schwierigkeiten bei der Deutung und Auswertung des Interferenzbildes führen kann.
Das von Beyer-Schöppe stammende Interphako-Verfahren steht zwischen den beiden Methoden. Bei ihm wird die Vergleichswelle zwar vom Objekt beeinflußt, doch werden die ihr aufgeprägten Objektstrukturen durch geeignete Blendenanordnungen wieder ausgefiltert. Diese Methode eignet sich allerdings nur für relativ kleine Objekte bzw. feine Objektstrukturen.
Für die Durchlicht-Interferenzmikroskopie ist bevorzugt das Mach-Zehnder-Interferometer angewendet worden. Es läßt sich vor oder hinter dem Objektiv anordnen. Letzteres kann aber auch von ihm eingeschlossen werden. Von W. Krug und E. Lau sind einige relativ einfache und stabile Anordnungen vorgeschlagen worden. Abb. 1 gibt ein Beispiel. Die vor dem Objektiv angebrachte spezielle Mikro-Mach-Zehnder-Anordnung besteht aus zwei Rhombusprismen mit teildurchlässiger Kittfläche sowie einem Vereinigungswürfel. Die Beobachtungsapertur ist theoretisch auf etwa 0,7, die Beleuchtungsapertur auf etwa 0,4 bis 0,5 beschränkt. Der wesentliche Vorteil dieser Anordnung besteht darin, daß nur ein Objektiv benötigt wird und sich im Interferometer keine abbildende Optik befindet, so daß keine ernsthaften Justierschwierigkeiten auftreten. Die Verwendung stärkerer Objektive ist bei diesem Verfahren nicht möglich.
Zu höheren Aperturen gelangt man ohne Beeinflussung der Vergleichswelle durch das Objekt nur, wenn man die abbildende Optik in das Interferometer bringt. Nach diesem Prinzip ist das von Horn vorgeschlagene I. gebaut (Abb. 2). Es besitzt je ein Objektiv- und ein Kondensorpaar innerhalb einer Mach-Zehnder-Anordnung. Die wesentlichen Vorteile dieses I. bestehen in der Verwendung stärkster Objektive bei vollständiger Trennung von Objekt- und Vergleichsstrahlengang, wodurch die Auswertung der Interferenzbilder erleichtert wird.
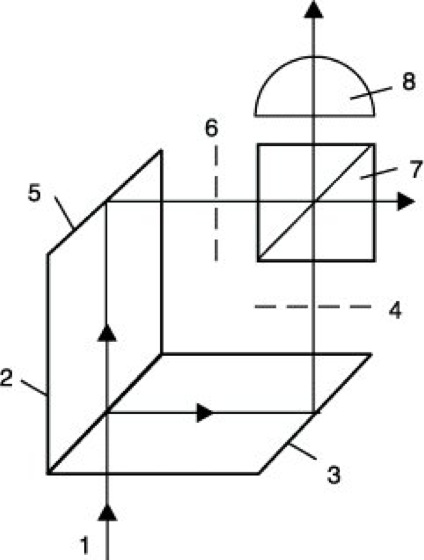
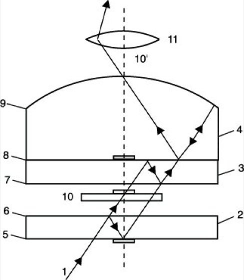
Von Dyson wurde eine Anordnung vorgeschlagen, die einem normalen Mikroskopobjektiv vorgeschaltet wird (Abb. 3). Sie arbeitet nach dem Prinzip eines Jamin-Interferometers mit rotationssymmetrischer Beleuchtung. Es erfolgt eine Aufspaltung und teilweise Wiedervereinigung der Strahlen durch innere Reflexion an zwei schwach keilförmigen Glasplatten 2 und 3 mit ebenen Oberflächen. Mit der Platte 3 verkittet ist der Spiegelkörper 4, dessen Kugelfläche 9 bis auf einen kleinen zentralen Fleck voll verspiegelt ist. Die Flächen 6, 7 und 8 sind halbdurchlässig und der zentrale Teil der Fläche 5 ist undurchlässig verspiegelt. Der einfallende Strahl 1 wird an der Fläche 6 in zwei Teilstrahlen aufgespalten, die nach Reflexion an den Flächen 8 bzw. 5 und Durchlaufen gleicher optischer Wege an der Fläche 7 wieder vereinigt werden. Der Kugelspiegel vermittelt eine gleichzeitige Abbildung der Objektebene 10 und der Vergleichsfläche 5 im Maßstab 1:1 in die Objektebene 10' des Objektivs 11, so daß in dieser Ebene ein Interferenzbild des in der Objektebene 10 befindlichen Phasenobjektes entsteht. Eine Zentralblende auf der Fläche 8 sorgt dafür, daß nur am Spiegel 9 reflektiertes Licht nach 10' gelangt. Der Nachteil des Verfahrens von Dyson besteht in der Beschränkung des Sehfeldes wegen des bei der Abbildung durch eine Kugelfläche unvermeidlichen außeraxialen Astigmatismus, weiterhin im Auftreten von zusätzlichem Streulicht und in der etwas schwierigen Handhabung, weil das Präparat stets beiderseitig im Immersionsöl eingebettet werden muß.
Ein I. kann auch nach dem Prinzip des Shearinginterferometers arbeiten. Das Bild des Objektes spaltet dann in zwei Einzelbilder auf. Je nachdem, ob deren seitliche Versetzung von der Größenordnung der Auflösungsgrenze des Objektivs ist oder deutlich größer, spricht man von differentieller oder totaler Bildaufspaltung. Im ersten Falle wird noch kein Doppelbild wahrgenommen, es werden jedoch Brechzahlgradienten und allgemein die Grenzen von Phasenobjekten kontrastreich dargestellt, wodurch das Bild einen plastischen Eindruck vermittelt (Reliefkontrast). Im weißen Licht treten Interferenzfarben auf; dabei entsprechen gleiche Farben gleichen Gradienten des Gangunterschiedes. Bei totaler Bildaufspaltung können sowohl die Streifen- als auch die Interferenzkontrastmethode (Interferenzmikroskopie) zur Vermessung von Phasenobjekten verwendet werden.
Bereits 1868 hat J. Jamin eine Interferenzanordnung vom Typ des Shearinginterferometers angegeben, die 1930 von Lebedeff ausführlicher beschrieben wurde und als Grundlage für die Konstruktion leistungsfähiger I. gedient hat. Ihr Grundprinzip besteht in folgendem (Abb. 4): Es seien 2 und 5 zwei gleiche, unter 45° zur optischen Achse geschnittene Kalkspat- oder Quarzplatten. Von unten falle linear polarisiertes monochromatisches Licht senkrecht auf die Platte 2 ein, das unter 45° zu den Kristallachsen schwingt. In 2 wird jeder einfallende Strahl in einen ordentlichen (o) und einen außerordentlichen (e) aufgespalten (optische Doppelbrechung). Nur der außerordentliche Strahl wird bei senkrechtem Einfall gebrochen. Beide Strahlen sind senkrecht zueinander polarisiert und verlassen räumlich getrennt als Parallelstrahlen die Platte 2. Durch die λ/2-Platte 3 wird die Schwingungsrichtung beider Strahlen um 90° gedreht, wodurch für die zweite Kristallplatte 5 der bisher ordentliche Strahl zum außerordentlichen wird und umgekehrt der bisher außerordentliche zum ordentlichen. Der in 2 gebrochene Strahl geht daher ungebrochen durch 5 hindurch, während der in 2 ungebrochene Strahl in 5 gebrochen wird, so daß beide Teilstrahlen hinter 5 wieder vereinigt werden.
Bildet man mit einer nachfolgenden Optik die Objektebene 4 ab, dann erhält man zwei zueinander verschobene Bilder des Objektes, erzeugt jeweils durch Licht einer bestimmten Polarisationsrichtung. Der zum Polarisator parallele oder gekreuzte Analysator 6 bewirkt, daß unterschiedlich polarisierte Lichtstrahlen miteinander interferieren (Interferenzen in Kristallen, Polarisationsmikroskopie). Eine genaue Messung von Gangunterschieden wird mit Hilfe von Kompensatoren vorgenommen, z.B. nach dem Sénarmont-Kompensationsverfahren.
Die Interferenzanordnung nach Jamin-Lebedeff ist vorwiegend für Arbeiten im Interferenzkontrast gedacht. Zum Erzeugen von Interferenzstreifen kann in der Nähe der Zwischenbildebene zusätzlich ein Quarzkeil eingeschoben werden.
Das Interferenzokular nach Françon verwendet das gleiche Prinzip der Strahlentrennung und Bildaufspaltung wie das I. nach Jamin-Lebedeff. Der wesentliche Unterschied besteht darin, daß die Kristallplatten in der Nähe der Zwischenbildebene angeordnet sind, so daß sie sich in einem speziellen Okular unterbringen lassen. Damit läßt sich ein normales Hellfeldmikroskop einfach in ein Interferenzmikroskop verwandeln, doch ist diese Anordnung nur für differentielle Aufspaltung zur Erzeugung eines Reliefkontrastes geeignet.
Eine laterale Bildversetzung läßt sich auch erreichen, indem man in der Brennebene des Objektivs ein optisches Element anordnet, das eine Richtungsaufspaltung der ankommenden Strahlen bewirkt. Dieses Prinzip wurde zuerst von Smith für die Interferenzmikroskopie genutzt. Die experimentelle Anordnung ist die folgende (Abb. 5): Polarisator 1 und Analysator 7 sind unter 45° zu den optischen Achsen der Wollaston-Prismen 2 und 6 orientiert, so daß das in 2 einfallende linear polarisierte Licht zu gleichen Teilen in eine ordentliche und eine außerordentliche Komponente aufgespalten wird, die an der Kittfläche in verschiedene Richtungen abgelenkt werden. Schneiden sich die rückwärtigen Verlängerungen der zwei aus 2 austretenden Strahlen in der Kondensorbrennebene, dann passieren sie, wie bei dem I. nach Jamin-Lebedeff, parallel zueinander versetzt die Objektebene und werden in der Kittfläche des in der hinteren Objektivbrennebene gelegenen Wollaston-Prismas 6 wieder vereinigt.
Das I. hat in erster Linie in der Auflichtmikroskopie für die Untersuchung technischer Oberflächen Bedeutung erlangt. Die meisten der bisher entwickelten derartigen Mikroskope nutzen das Prinzip des Michelson-Interferometers. Eine entsprechende Anordnung, allerdings mit einem Planglas anstelle des Teilerwürfels, wurde zuerst von Linnik beschrieben (Abb. 6). Die Lichtquelle 1 wird mit der Kollimatorlinse 2 über die Teilungsfläche 3 in die gleichzeitig als Eintrittspupillen wirkenden Austrittspupillen 4 und 7 der Objektive 5 und 8 abgebildet. Jeder Lichtquellenpunkt sendet somit ein paralleles Beleuchtungsbündel sowohl auf die Objektebene 6 als auch auf die Vergleichsfläche 9. Die Objektive sind für unendlichen Bildabstand korrigiert, so daß im Teilerwürfel die Abbildungsstrahlen parallel verlaufen und das mikroskopische Bild in der Brennebene der Tubuslinse 10 entsteht. Hier überlagern sich Objekt- und Vergleichswelle und erzeugen das Interferenzbild.
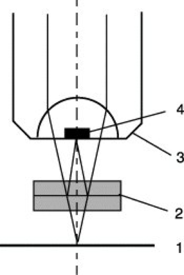
Eine andere einfache Auflichtanordnung ist von Mirau vorgeschlagen worden (Abb. 7). In der Mitte zwischen der Objektebene 1 und der Objektivfrontlinse befindet sich zwischen zwei verkitteten Glasplättchen die Teilungsfläche 2, an der die Strahlen aufgespalten und nach Reflexion an der Präparatoberfläche 1 bzw. dem verspiegelten Fleck 4 der Objektivfrontlinse wieder vereinigt werden. Der Abstand der Interferenzstreifen kann durch Neigen von 1,2 oder 4 variiert werden.
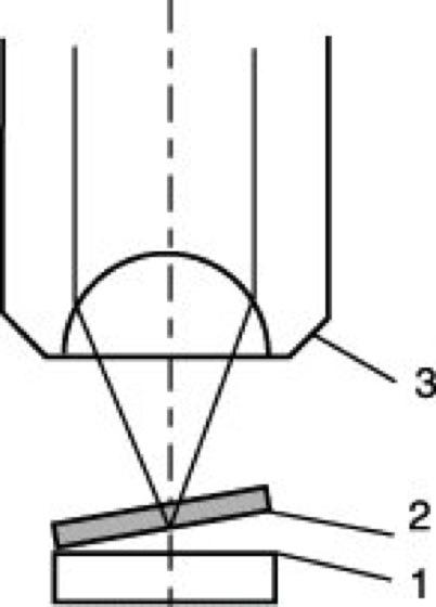
Schließlich haben die Interferenzen am reellen Keil eine sehr breite Anwendung in der Interferenzmikroskopie gefunden, besonders in der Form der Vielstrahlinterferenz. Man legt nach Abb. 8 eine halbdurchlässig verspiegelte Glasplatte 2 mit der verspiegelten Seite so auf eine gut reflektierende Oberfläche 1, daß zwischen beiden ein kleiner Keil entsteht und erkennt mit einem Mikroobjektiv 3 im Bereich dieses Keils eine Anzahl Interferenzstreifen. Diese sind um so schärfer, je kleiner der Abstand zwischen Objektebene und Vergleichsfläche, je kleiner die Beleuchtungsapertur, je besser die Monochromasie des verwendeten Lichtes und je höher das Reflexionsvermögen von Präparatoberfläche und Vergleichsfläche sind. Alle Unregelmäßigkeiten auf beiden Flächen werden sehr empfindlich durch Auslenkung der Interferenzstreifen angezeigt.

Interferenzmikroskop 1: Durchlichtinterferenzmikroskop nach Krug und Lau. 1 einfallender Strahl, 2 erste Teilungsfläche, 3 und 5 reflektierende Prismenflächen, 4 Objektebene, 6 zu 4 konjugierte Ebene, 7 zweite Teilungsfläche, 8 Objektiv.

Interferenzmikroskop 2: Optisches Schema des Interferenzmikroskopes nach Horn. 1 erste Teilungsfläche, 2 und 2' Kompensationskeil und Kompensationsplatte, 3 und 3' Kondensor, 4 und 4' Objekt und Vergleichsobjekt, 5 und 5' Objektiv, 6 zweite Teilungsfläche.

Interferenzmikroskop 4: Polarisationsinterferometer nach Jamin-Lebedeff. 1 Polarisator, 2 und 5 gleiche Kalkspat- oder Quarzplatten, 3 λ/2-Platte, 4 Objektebene, 6 Analysator, o ordentlicher und e außerordentlicher Strahl.

Interferenzmikroskop 5: Optisches Schema des Interferenzmikroskopes nach Smith. 1 Polarisator, 2 und 6 Wollaston-Prismen, 3 Kondensor, 4 Objektebene, 5 Objektiv, 7 Analysator.




Wenn Sie inhaltliche Anmerkungen zu diesem Artikel haben, können Sie die Redaktion per E-Mail informieren. Wir lesen Ihre Zuschrift, bitten jedoch um Verständnis, dass wir nicht jede beantworten können.